授权公布号:CN115751313B
一种户外用隐藏式点火的燃烧器
有效
申请
2022-12-10
申请公布
2023-03-07
授权
2023-09-29
预估到期
2042-12-10
| 申请号 | CN202211583093.6 |
| 申请日 | 2022-12-10 |
| 申请公布号 | CN115751313A |
| 申请公布日 | 2023-03-07 |
| 授权公布号 | CN115751313B |
| 授权公告日 | 2023-09-29 |
| 分类号 | F23D14/14;F23D14/08;F23D14/64;F23D14/58;F23D14/70;F23D14/46 |
| 分类 | 燃烧设备;燃烧方法; |
| 申请人名称 | 广州市红日燃具有限公司 |
| 申请人地址 | 广东省广州市白云区江高镇神山大道东650号 |
专利法律状态
2023-09-29
授权
状态信息
授权
2023-08-15
专利申请权、专利权的转移
状态信息
专利申请权的转移;IPC(主分类):F23D14/14;登记生效日:20230803;变更事项:申请人;变更前:广州市红日实业有限公司;变更后:广州市红日燃具有限公司;变更事项:地址;变更前:510515 广东省广州市白云区北太路1633号广州民营科技园科盛路8号配套服务大楼5层A505.145房;变更后:510450 广东省广州市白云区江高镇神山大道东650号
2023-03-24
实质审查的生效
状态信息
实质审查的生效;IPC(主分类):F23D14/14;申请日:20221210
2023-03-07
公布
状态信息
公布
摘要
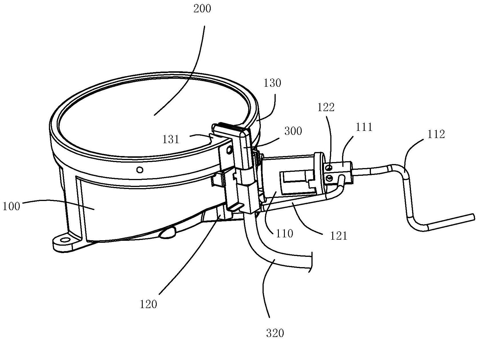
本发明公开了一种户外用隐藏式点火的燃烧器,包括外周环绕封闭设置的炉腔,炉腔的顶部设有多孔陶瓷板,多孔陶瓷板通过装饰圈固定安装于炉腔的顶部开口,炉腔的外壁固定有通过高压点火线连接的点火针,炉腔内设有引射管,引射管的一端自炉腔伸出,引射管伸出的一端通过主喷嘴连接主气管,炉腔底部还安装有副喷嘴,副喷嘴伸入至炉腔的内部,副喷嘴的出气端位于点火针的下方,副喷嘴的进气端通过副气管连接至主喷嘴的侧壁。此燃烧器的主气管同时连接主喷嘴和副喷嘴,主喷嘴连接主气管经引射管喷射燃气入炉腔,副喷嘴同步自炉腔底部伸出喷射燃气至炉腔的上方,通过位于副喷嘴上方的点火针进行点火,此红外线燃烧器的结构简洁美观,可实现更快捷更高效率的点火操作。


