授权公布号:CN214548682U
一种在感温变色花纸外覆硅胶涂层的变色容器
有效
申请
2020-11-13
申请公布
1970-01-01
授权
2021-11-02
预估到期
2030-11-13
| 申请号 | CN202022627509.2 |
| 申请日 | 2020-11-13 |
| 授权公布号 | CN214548682U |
| 授权公告日 | 2021-11-02 |
| 分类号 | A47G19/22;C08L63/00;C08L61/20;C09D11/50;C08J7/04;B41M1/12;B41M5/025 |
| 分类 | 家具;家庭用的物品或设备;咖啡磨;香料磨;一般吸尘器; |
| 申请人名称 | 康炜贸易(上海)有限公司 |
| 申请人地址 | 上海市浦东新区中国(上海)自由贸易试验区崂山路332号B6幢2层3层 |
专利法律状态
2021-11-02
授权
状态信息
授权
摘要
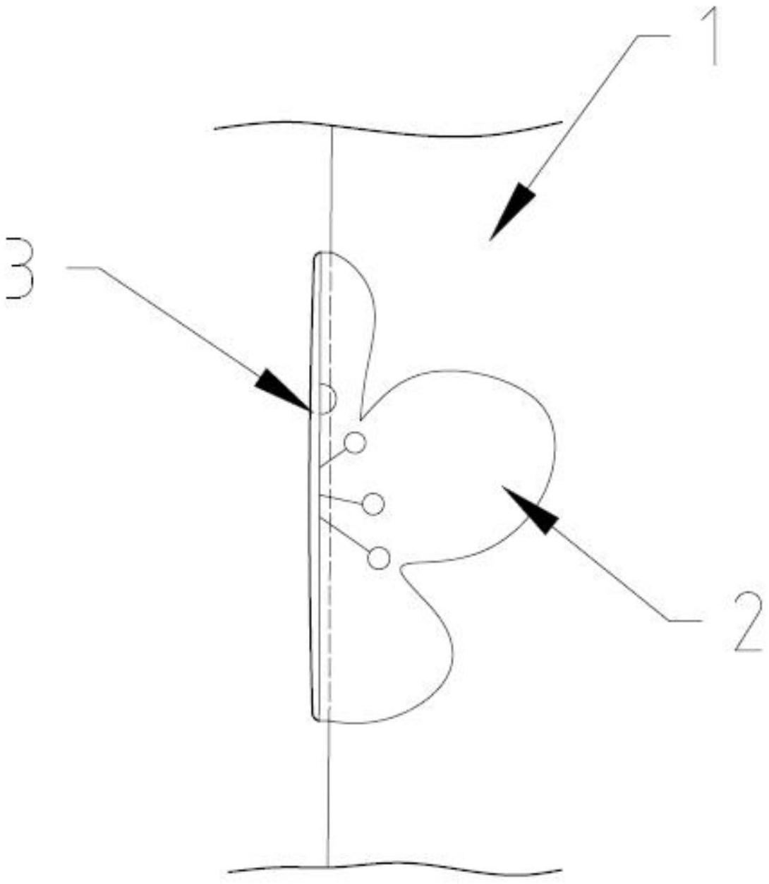
一种在感温变色花纸外覆硅胶涂层的变色容器,包括单层的容器本体(1),所述容器本体(1)外壁上分布有一片或多片花纸(2),所述花纸(2)为感温变色花纸,在所述花纸(2)的外表面覆盖有硅胶涂层(3)。本实用新型在感温变色花纸外覆硅胶涂层的变色容器,在容器外壁贴有可色变的花纸,且花纸能够随容器内水温的不同变换两种不同颜色。另外,花纸外表面还喷有一层硅胶涂料,使触碰杯子有一种亲肤的舒适感,不会像直接碰到玻璃那么冷。


