授权公布号:CN207540268U
烘干机构
有效
申请
2017-11-24
申请公布
1970-01-01
授权
2018-06-26
预估到期
2027-11-24
| 申请号 | CN201721609389.5 |
| 申请日 | 2017-11-24 |
| 授权公布号 | CN207540268U |
| 授权公告日 | 2018-06-26 |
| 分类号 | F26B9/06;F26B21/00;F26B25/12 |
| 分类 | 干燥; |
| 申请人名称 | 广东同益空气能科技股份有限公司 |
| 申请人地址 | 广东省广州市荔湾区桥中中路219-221号二楼之三 |
专利法律状态
2018-06-26
授权
状态信息
授权
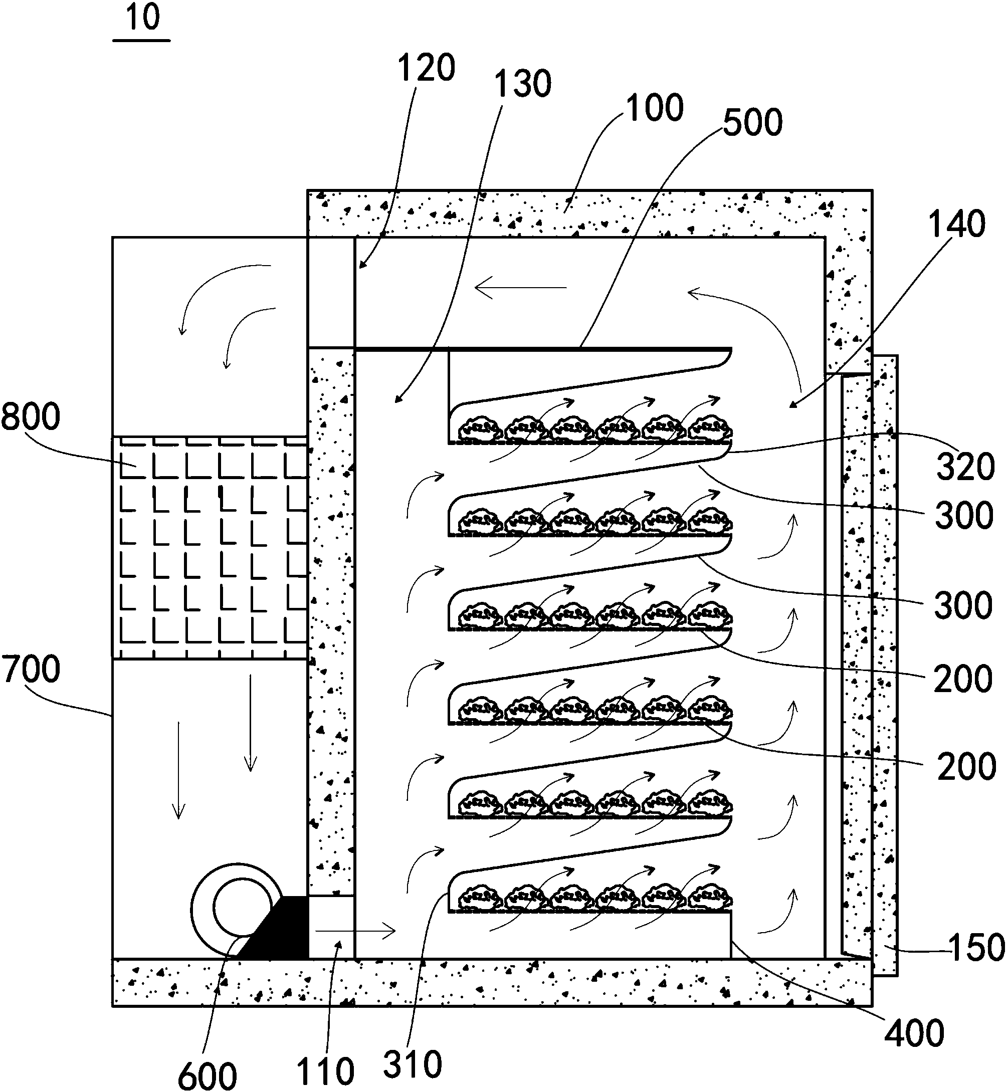
摘要
本实用新型公开了一种烘干机构。该烘干机构包括烘干室、烘干层板、隔离板、第一密封板、第二密封板以及送风机。烘干室具有进风口以及出风口,烘干层板具有多个透风孔,烘干层板的数量为多个,多个烘干层板均位于烘干室内,多个烘干层板依次层叠分布且相邻的两个烘干层板之间具有间隔,多个烘干层板相对的两侧的与烘干室之间形成进风通道、出风通道,出风通道与出风口连通,相邻的两个烘干层板之间均设有一个隔离板,多个隔离板以及多个烘干层板构成迂回状,第一密封板密封最底部的烘干层板,第二密封板密封最顶部的烘干层板。送风机设在进风口处,送风机能够通过进风口向进风通道内送风。该烘干机构气流均匀、温度均匀、耗电少且节约人力。


