授权公布号:CN206868382U
一种稳定式绞肉机
有效
申请
2017-02-14
申请公布
1970-01-01
授权
2018-01-12
预估到期
2027-02-14
| 申请号 | CN201720132388.X |
| 申请日 | 2017-02-14 |
| 授权公布号 | CN206868382U |
| 授权公告日 | 2018-01-12 |
| 分类号 | B02C18/30;F16F15/06 |
| 分类 | 破碎、磨粉或粉碎;谷物碾磨的预处理; |
| 申请人名称 | 广州新域机电制造有限公司 |
| 申请人地址 | 广东省广州市萝岗区云埔工业区云展路8号 |
专利法律状态
2018-01-12
授权
状态信息
授权
摘要
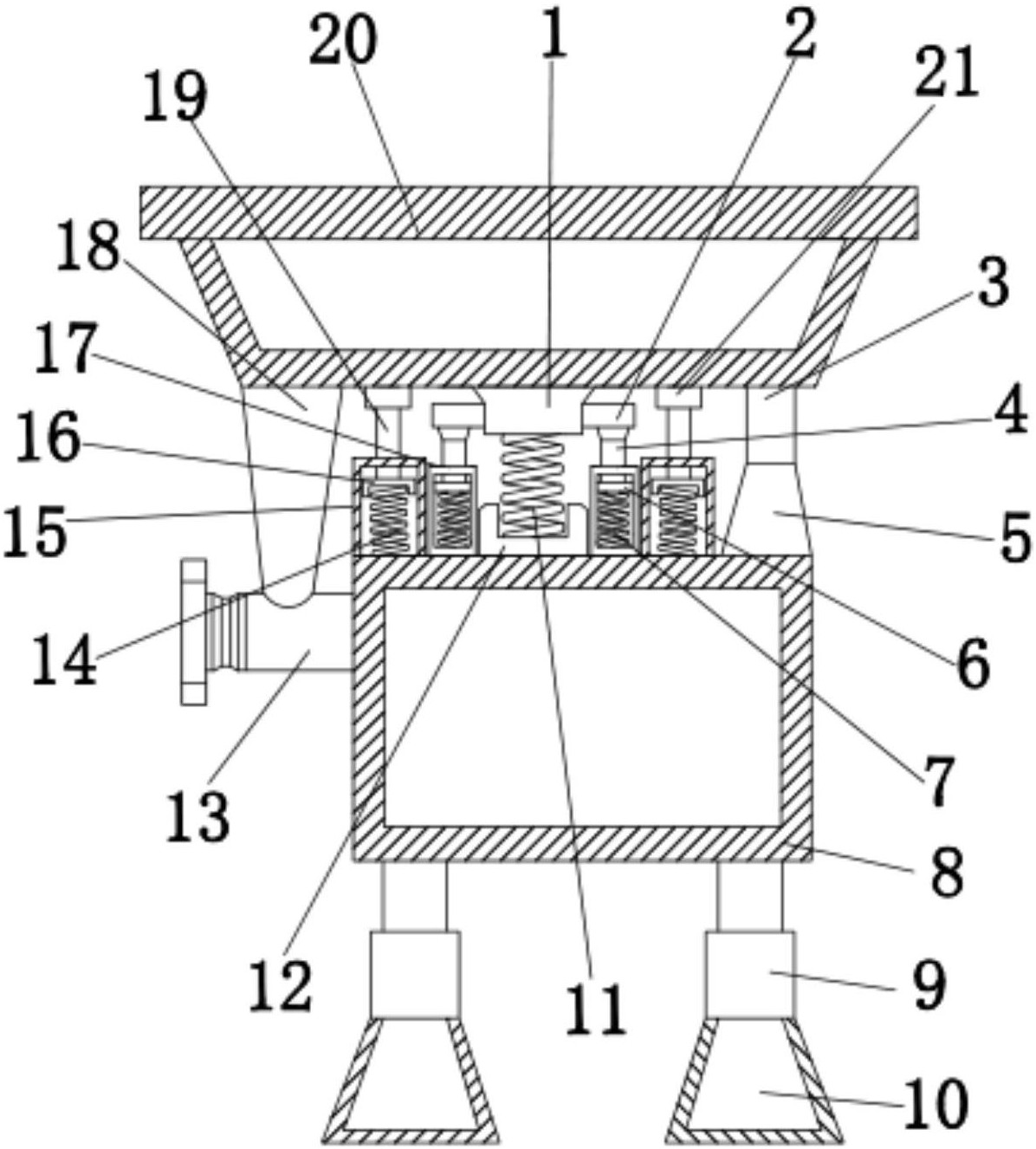
本实用新型公开了一种稳定式绞肉机,包括绞肉机主体,所述绞肉机主体的底端安装有第二支撑座,所述压动块的底端安装有第一推动杆,所述第一压动板的底端安装有第一弹簧,所述肉品托盘的底端左右两侧均安装有第二推动杆,所述第二推动杆的底端安装有第二压动板,所述第二压动板的底端安装有就第三弹簧。该稳定式绞肉机,同时肉品托盘带动第二推动杆向下运动,第二推动杆带动第二压动板向下运动,第二压动板压动第三弹簧进行伸缩,第三弹簧进一步减小肉品托盘受到震荡,有效的减小当绞肉机主体进行工作时肉品托盘受到的震荡,确保了肉品托盘具有较好的稳定性,避免了肉品托盘内部的肉会出现掉落的现象,节约了资源。


