授权公布号:CN210890011U
自由行星传动机构及绞肉机双重行星减速箱
有效
申请
2019-04-13
申请公布
1970-01-01
授权
2020-06-30
预估到期
2029-04-13
| 申请号 | CN201920497872.1 |
| 申请日 | 2019-04-13 |
| 授权公布号 | CN210890011U |
| 授权公告日 | 2020-06-30 |
| 分类号 | F16H57/023;F16H57/08 |
| 分类 | 工程元件或部件;为产生和保持机器或设备的有效运行的一般措施;一般绝热; |
| 申请人名称 | 广州新域机电制造有限公司 |
| 申请人地址 | 广东省广州市萝岗区云埔工业区云展路8号 |
专利法律状态
2020-06-30
授权
状态信息
授权
摘要
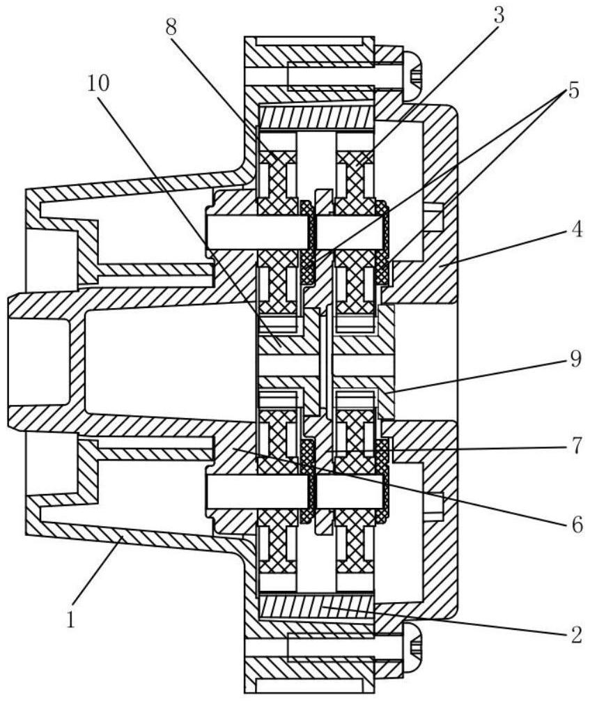
本实用新型公开了一种自由行星传动机构和绞肉机双重行星减速箱,由两级太阳轮、两级行星轮和两级行星架组成,两级行星轮共同离心啮合同一齿圈,共齿圈的两级行星轮,使一级行星轮在高速离心旋转下能够产生轴向的悬浮旋转,两级减速传动之间不会相互干扰,利于动力传递更顺畅、均衡,绞肉机双重行星减速箱的传动各部件受力均匀不易破损,使用寿命长,紧凑式结构最大限度地节省空间,有利于压缩绞肉机的体积,使绞肉机更轻巧,外观设计更友好,符合家庭厨艺装备的小型化要求。


