授权公布号:CN210976468U
一种PVC收边条
有效
申请
2019-09-04
申请公布
1970-01-01
授权
2020-07-10
预估到期
2029-09-04
| 申请号 | CN201921456475.6 |
| 申请日 | 2019-09-04 |
| 授权公布号 | CN210976468U |
| 授权公告日 | 2020-07-10 |
| 分类号 | E04F19/02;E04F19/04 |
| 分类 | 建筑物; |
| 申请人名称 | 阿姆斯壮(中国)投资有限公司 |
| 申请人地址 | 上海市徐汇区龙华中路600号绿地中心B座10楼1008室 |
专利法律状态
2020-07-10
授权
状态信息
授权
摘要
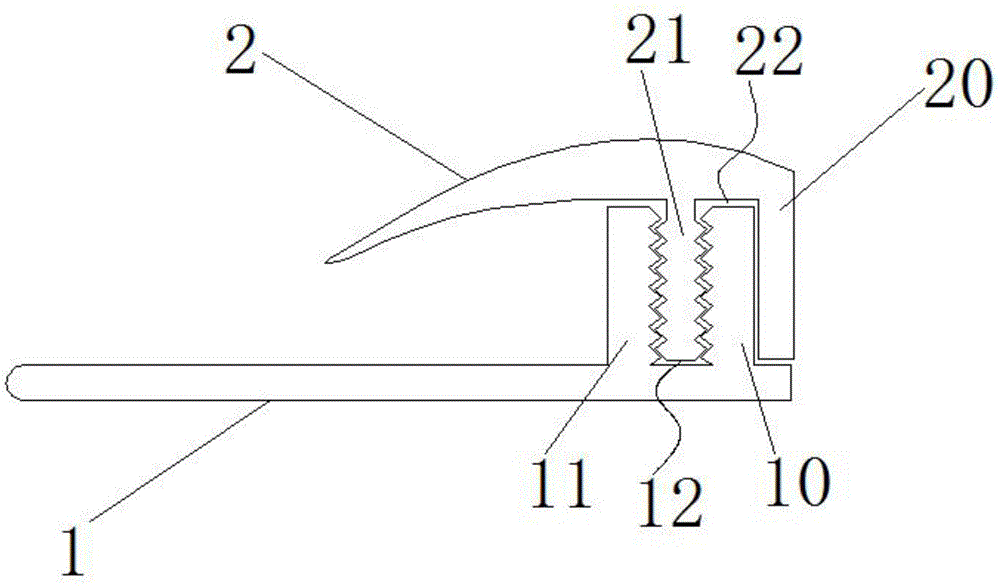
本实用新型提供了一种PVC收边条,包括底板和面板,所述的底板和面板固定装配,所述面板上设有第一凸柱和第二凸柱,所述底板上设有第三凸柱和第四凸柱,所述第一凸柱和第二凸柱之间形成一个供第三凸柱安置固定的第一凹槽,所述第三凸柱和第四凸柱之间形成一个供第二凸柱安置固定的第二凹槽,所述第二凹槽与第二凸柱装配的槽内表面上设有限位凸齿,对应地,所述第二凸柱与第二凹槽接触的外表面设有限位凹齿。所述面板为弧形结构,且弧形的凹面靠近底板一侧。结构简单,成本低廉,操作方便,安装牢固、美观,从而不会出现脱胶、开裂积垢等问题,同时,简化了墙板的安装,有效保证了地面或天花与墙面交接处平整和墙面平直。


