授权公布号:CN210976472U
一种新型合金阴角条
有效
申请
2019-10-24
申请公布
1970-01-01
授权
2020-07-10
预估到期
2029-10-24
| 申请号 | CN201921794991.X |
| 申请日 | 2019-10-24 |
| 授权公布号 | CN210976472U |
| 授权公告日 | 2020-07-10 |
| 分类号 | E04F19/02 |
| 分类 | 建筑物; |
| 申请人名称 | 阿姆斯壮(中国)投资有限公司 |
| 申请人地址 | 上海市徐汇区龙华中路600号绿地中心B座10楼1008室 |
专利法律状态
2020-07-10
授权
状态信息
授权
摘要
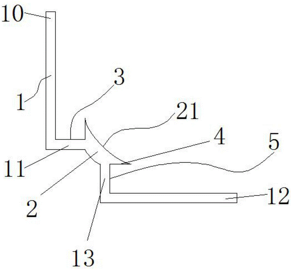
本实用新型提供一种新型合金阴角条,包括阴角条主体,所述阴角条主体包括第一长板、第二长板、第一短板和第二短板,所述第一长板和第一短板垂直固定装配,所述第二长板和第二短板垂直固定装配,还包括连接块,所述连接块一端与第一短板连接装配,另一端与第二短板连接装配,所述连接块和第一短板与第二短板装配之后配合第一长板和第二长板形成两个供墙板插入的第一槽口和第二槽口,连接块与第一短板与第二短板装配之后还形成一个凹陷。本产品不同于使用传统的阴角条和采用密封胶进行安装的方式,本产品具有便于安装的特点,本产品连接块设有弧形面,更加圆润美观,且减少缝隙积灰,方便清洁清理,本产品还有多种颜色可供选择,非常的实用,美观大方。


