授权公布号:CN207105604U
一种便携式热弯器
有效
申请
2017-07-05
申请公布
1970-01-01
授权
2018-03-16
预估到期
2027-07-05
| 申请号 | CN201720805232.3 |
| 申请日 | 2017-07-05 |
| 授权公布号 | CN207105604U |
| 授权公告日 | 2018-03-16 |
| 分类号 | B29C53/04;B29C53/84 |
| 分类 | 塑料的加工;一般处于塑性状态物质的加工; |
| 申请人名称 | 阿姆斯壮(中国)投资有限公司 |
| 申请人地址 | 上海市徐汇区龙华中路600号绿地中心B座十楼 |
专利法律状态
2018-03-16
授权
状态信息
授权
摘要
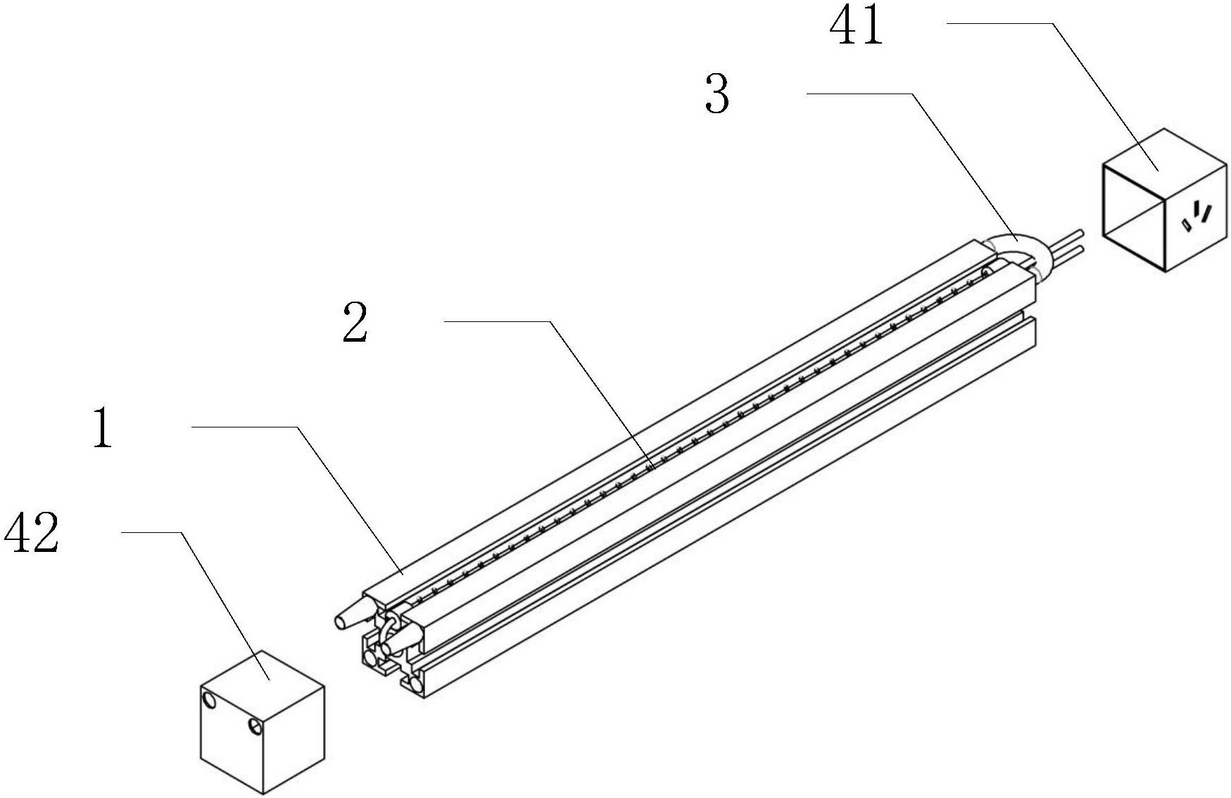
本实用新型属于加工设备技术领域,具体涉及一种便携式热弯器。所述便携式热弯器,包括支撑本体、嵌入所述支撑本体内的加热组件、与设置在支撑本体内的循环冷却组件、设置在所述加热组件外接电源一端的第一端盖和设置在另一端的第二端盖。本实用新型提供的热弯器结构精简,成本大大降低。轻便可携带,同时又便于固定,可随时外接电源、冷却水的结构,不受施工场地的限制,外形精巧体积小,让操作人员能随时随地、根据实际情况单独或组合使用。针对面积特别大难以移动,或需要多处同时热弯的板材的加工,可固定板材而移动热弯器。


