授权公布号:CN220379608U
一种高可靠性汽车灯
有效
申请
2023-06-28
申请公布
1970-01-01
授权
2024-01-23
预估到期
2033-06-28
| 申请号 | CN202321680032.1 |
| 申请日 | 2023-06-28 |
| 授权公布号 | CN220379608U |
| 授权公告日 | 2024-01-23 |
| 分类号 | F21V23/06;F21V7/00;F21V17/10;F21S45/50;F21W107/10N |
| 分类 | 照明; |
| 申请人名称 | 佛山电器照明股份有限公司 |
| 申请人地址 | 广东省佛山市禅城区汾江北路64号 |
专利法律状态
2024-01-23
授权
状态信息
授权
摘要
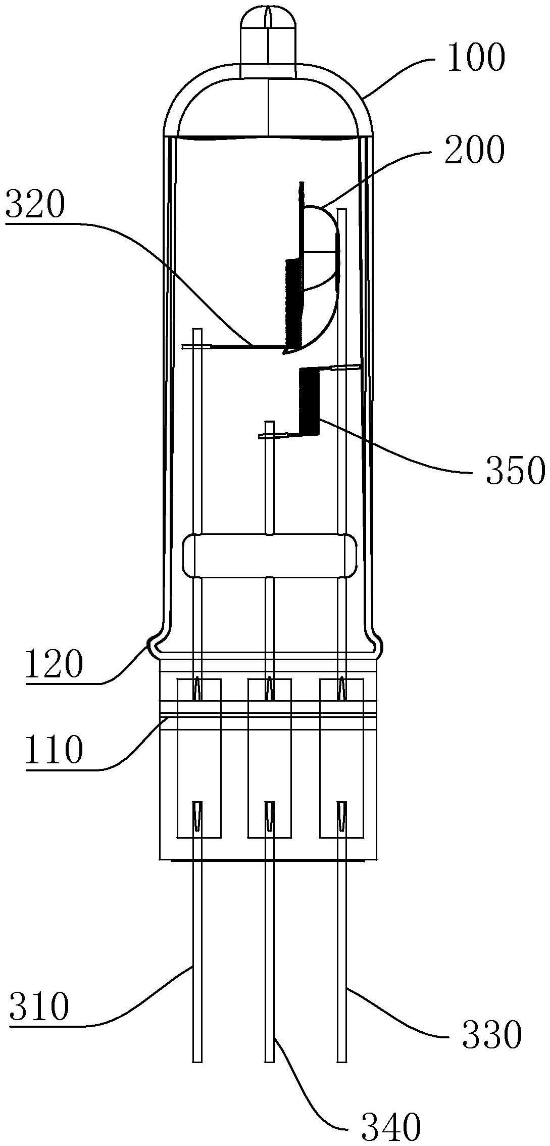
本实用新型公开了一种高可靠性汽车灯,包括:泡壳;配光屏,其位于所述泡壳内,所述配光屏上设置有沿水平方向延伸的第一凸起;发光组件,其包括第一引脚、第一灯丝与第二引脚,所述第一引脚的一端伸入所述泡壳并连接所述第一灯丝的一端,所述第一灯丝的另一端连接于所述第一凸起上,所述第二引脚的一端伸入所述泡壳并连接于所述配光屏上,本实用新型提高了第一灯丝与配光屏连接结构的稳定性,从而提高了汽车灯工作时的可靠性,可更好地延长其使用寿命。


