授权公布号:CN217217087U
一种电源模块机壳
有效
申请
2021-12-30
申请公布
1970-01-01
授权
2022-08-16
预估到期
2031-12-30
| 申请号 | CN202123450618.2 |
| 申请日 | 2021-12-30 |
| 授权公布号 | CN217217087U |
| 授权公告日 | 2022-08-16 |
| 分类号 | H05K5/02;H05K7/20 |
| 分类 | 其他类目不包含的电技术; |
| 申请人名称 | 杭州中恒电气股份有限公司 |
| 申请人地址 | 浙江省杭州市滨江区之江科技工业园东信大道69号中恒大厦19F |
专利法律状态
2022-08-16
授权
状态信息
授权
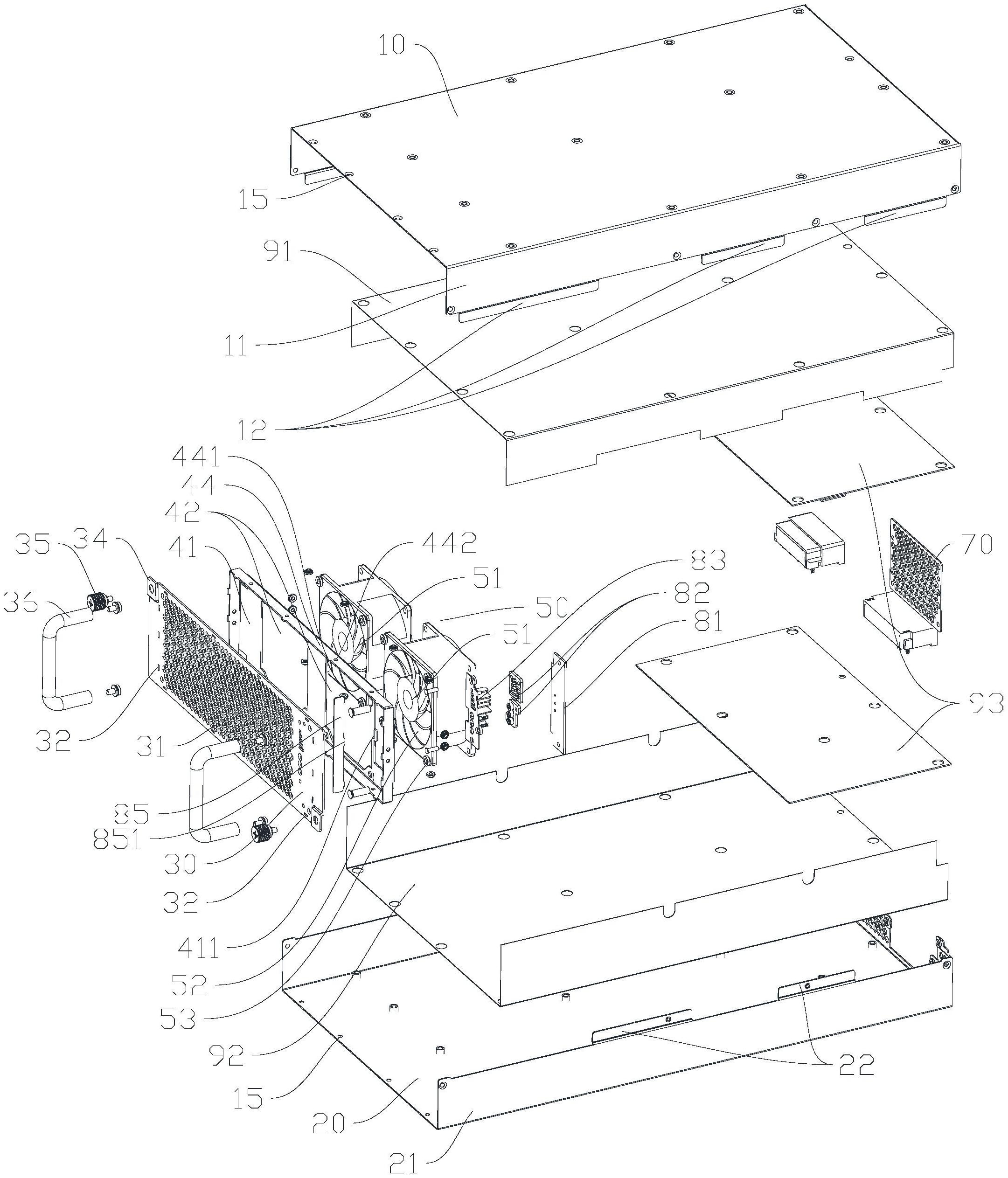
摘要
本实用新型涉及一种电源模块机壳,包括风扇组件、上壳、下壳和面板组件;上壳和下壳合拢形成腔体,风扇组件位于腔体内;其中,面板组件包括面板和风扇安装架,面板位于腔体外,且分别与上壳和下壳固定连接,风扇安装架位于腔体内靠近面板的一侧,风扇安装架分别与面板、上壳和下壳固定连接,风扇组件固定在风扇安装架上,且与面板之间设有间隙。本实用新型的风扇组件靠近面板组件设置,留出了腔体内较大的完整的空间,减少了风扇组件的所占空间,更方便电路板及其他电源部件的安装;同时,风扇组件与面板之间设有间隙,避免风扇组件直接贴在面板上,有利于风扇组件扇动气流。


