授权公布号:CN220138100U
一种改善电极形状的屏蔽结构
有效
申请
2023-06-12
申请公布
1970-01-01
授权
2023-12-05
预估到期
2033-06-12
| 申请号 | CN202321485494.8 |
| 申请日 | 2023-06-12 |
| 授权公布号 | CN220138100U |
| 授权公告日 | 2023-12-05 |
| 分类号 | H01F27/36 |
| 分类 | 基本电气元件; |
| 申请人名称 | 保定天威保变电气股份有限公司 |
| 申请人地址 | 河北省保定市天威西路2222号 |
专利法律状态
2023-12-05
授权
状态信息
授权
摘要
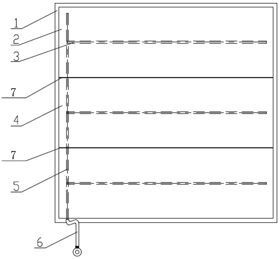
本实用新型涉及一种改善电极形状的屏蔽结构,属于变压器和电抗器技术领域。技术方案是:绝缘纸板(1)覆盖在需要屏蔽的铁心柱或铁轭外侧表面,多道半导电纸(2)分别通过双面上胶纸(4)固定在绝缘纸板(1)上,多道半导电纸(2)之间离缝拼接,每道半导电纸(2)上均设有一条副铜带(3),全部副铜带(3)之间通过一条主铜带(5)连接并引出接地小辫(6);离缝拼接的相邻两道所述半导电纸(2)之间留有5‑15mm的缝隙(7)。本实用新型的积极效果:改善屏蔽层的电极形状,也避免了因为尖角电极而发生局部放电,确保变压器和电抗器的可靠运行。


