授权公布号:CN219626461U
一种变压器用撑板装配拼接结构
有效
申请
2023-04-04
申请公布
1970-01-01
授权
2023-09-01
预估到期
2033-04-04
| 申请号 | CN202320721330.4 |
| 申请日 | 2023-04-04 |
| 授权公布号 | CN219626461U |
| 授权公告日 | 2023-09-01 |
| 分类号 | H01F41/00 |
| 分类 | 基本电气元件; |
| 申请人名称 | 保定天威保变电气股份有限公司 |
| 申请人地址 | 河北省保定市天威西路2222号 |
专利法律状态
2023-09-01
授权
状态信息
授权
摘要
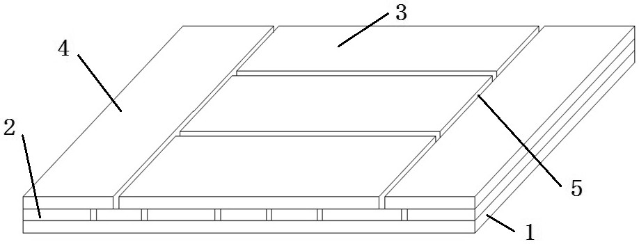
本实用新型涉及一种变压器用撑板装配拼接结构,属于变压器制造技术领域。技术方案是:最下面第一层为整张绝缘纸板(1),第二层为多块矩形窄绝缘纸板(2)拼接而成的绝缘纸板,矩形窄绝缘纸板(2)与整张绝缘纸板之间通过胶粘接;第二层的多块矩形窄绝缘纸板在长度方向拼接;第三层为多块矩形横绝缘纸板(3)和多块矩形竖绝缘纸板(4)拼接而成的绝缘纸板,多块矩形横绝缘纸板和多块矩形竖绝缘纸板之间通过胶粘接;依次按第二层、第三层拼接形式依次循环重复码放至图纸要求厚度,最顶层为整张绝缘纸板。本实用新型使用绝缘纸板拼接刷胶制作层压纸板料,作为加工撑板的原料,可以使用边角余料制作,更经济,能有效降低撑板装配制作成本。


