授权公布号:CN213070944U
一种开关柜接地开关的联锁结构
有效
申请
2020-10-27
申请公布
1970-01-01
授权
2021-04-27
预估到期
2030-10-27
| 申请号 | CN202022429392.7 |
| 申请日 | 2020-10-27 |
| 授权公布号 | CN213070944U |
| 授权公告日 | 2021-04-27 |
| 分类号 | H01H9/26;H01H9/22 |
| 分类 | 基本电气元件; |
| 申请人名称 | 中国西电集团有限公司 |
| 申请人地址 | 陕西省宝鸡市高新开发区高新27路(凤凰九路北段1号院) |
专利法律状态
2021-04-27
授权
状态信息
授权
摘要
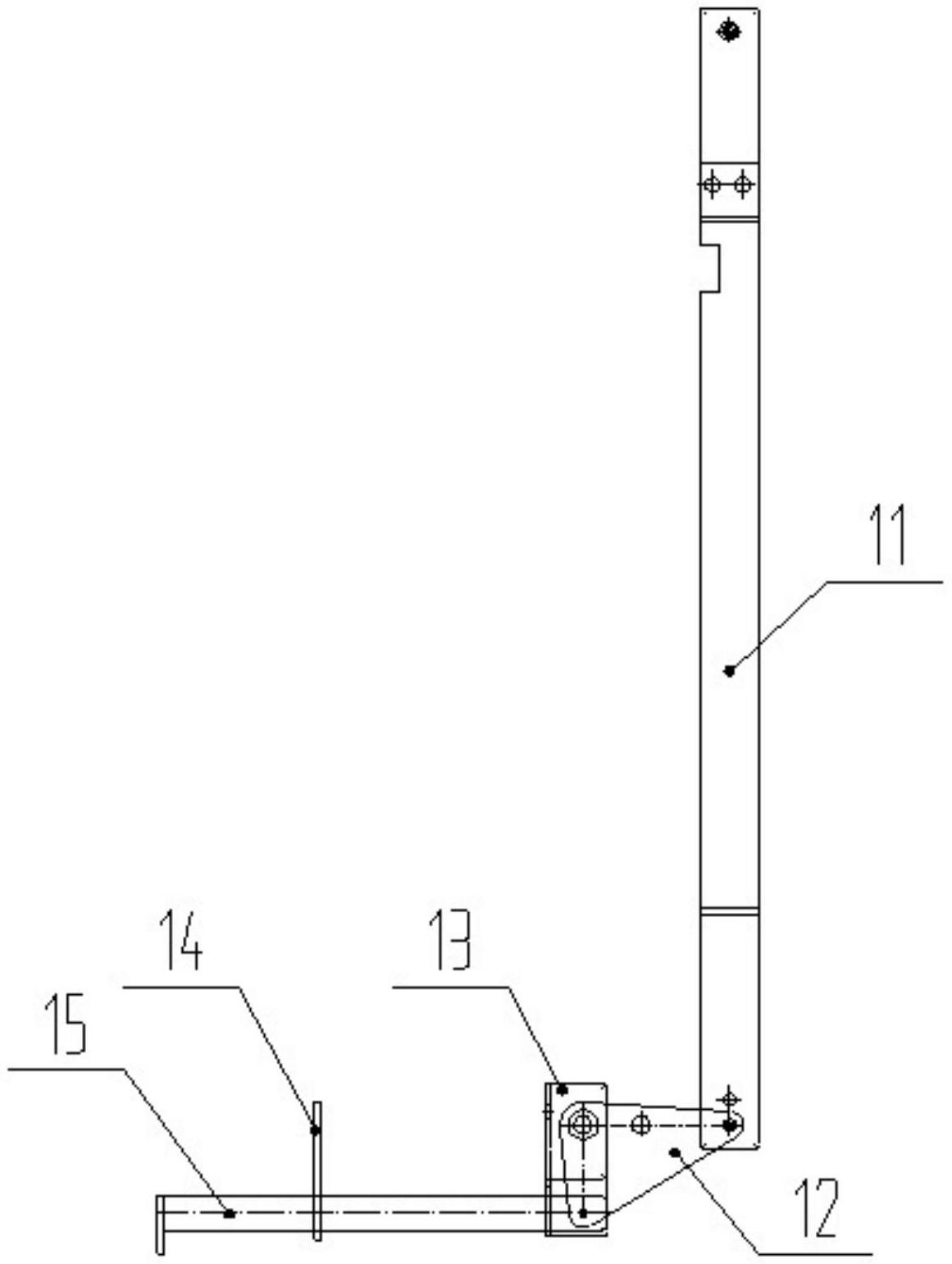
本实用新型公开了一种开关柜接地开关的联锁结构,包括第四固定板、连接件、连板和推板,所述第四固定板和开关柜的壁面固定连接,所述第四固定板上设置有滑道,所述连接件上分别设置有第一铰接点、第二铰接点和连接点,所述第一铰接点、第二铰接点和连接点呈三角结构分布,所述第一铰接点和连板的一端铰接,所述第二铰接点和第四固定板铰接,所述连接点和推板的一端铰接且连接点和推板的铰接点能在第四固定板的滑道内滑动。本实用新型接地开关和断路器联锁的可靠性得到提升同时连板和推板的三轴联动方式也保证了连板和推板的同步性,确保连板发生移动时推板同步进行移动,保证了设备的安全运行。


