授权公布号:CN207588320U
一种多功能开关柜检修小车
有效
申请
2017-11-03
申请公布
1970-01-01
授权
2018-07-06
预估到期
2027-11-03
| 申请号 | CN201721460110.1 |
| 申请日 | 2017-11-03 |
| 授权公布号 | CN207588320U |
| 授权公告日 | 2018-07-06 |
| 分类号 | H02B3/00 |
| 分类 | 发电、变电或配电; |
| 申请人名称 | 中国西电集团有限公司 |
| 申请人地址 | 陕西省西安市高新区唐兴路7号 |
专利法律状态
2021-03-23
专利申请权、专利权的转移
状态信息
专利权的转移;IPC(主分类):H02B3/00;专利号:ZL2017214601101;登记生效日:20210311;变更事项:专利权人;变更前权利人:中国西电集团有限公司;变更后权利人:中国西电集团有限公司;变更事项:地址;变更前权利人:710075 陕西省西安市高新区唐兴路7号;变更后权利人:710075 陕西省西安市高新区唐兴路7号;变更事项:专利权人;变更前权利人:;变更后权利人:西电宝鸡电气有限公司
2018-07-06
实用新型专利权授予
状态信息
授权
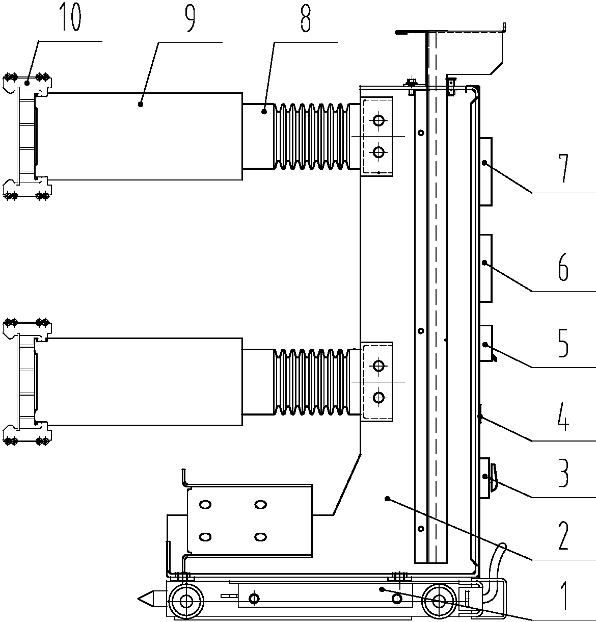
摘要
本实用新型公开了一种多功能开关柜检修小车,目的在于,在开关柜维护检修时,能够对开关柜母线侧、线路侧进行验电,在并入另一路电源时,能对三相相序进行核对,保证电源相序的一致,提高了开关柜维护检修效率,所采用的技术方案为:包括带有轮组的底盘车,底盘车上固定设置有车架,车架上设置有上触头和下触头,上触头和下触头均为三相触头,上触头和下触头均连接有高压传感器,上触头的高压传感器连接有上带电显示器,下触头的高压传感器连接有下带电显示器,上带电显示器连接至空气开关,空气开关分别连接有A相转换开关、B相转换开关和C相转换开关,A相转换开关、B相转换开关和C相转换开关均连接至下带电显示器。


