授权公布号:CN206250113U
一种柔性直流输电用固封式快速真空接触器
有效
申请
2016-12-14
申请公布
1970-01-01
授权
2017-06-13
预估到期
2026-12-14
| 申请号 | CN201621373460.X |
| 申请日 | 2016-12-14 |
| 授权公布号 | CN206250113U |
| 授权公告日 | 2017-06-13 |
| 分类号 | H01H33/666 |
| 分类 | 基本电气元件; |
| 申请人名称 | 中国西电集团有限公司 |
| 申请人地址 | 陕西省西安市高新区唐兴路7号 |
专利法律状态
2018-07-03
专利权人的姓名或者名称、地址的变更
状态信息
专利权人的姓名或者名称、地址的变更;IPC(主分类):H01H33/666;变更事项:专利权人;变更前:中国西电集团公司;变更后:中国西电集团有限公司;变更事项:地址;变更前:710075 陕西省西安市高新区唐兴路7号;变更后:710075 陕西省西安市高新区唐兴路7号
2017-06-13
授权
状态信息
授权
摘要
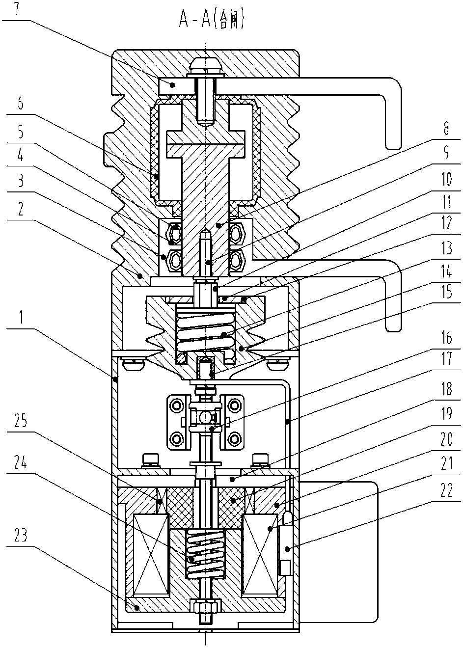
本实用新型提供的一种柔性直流输电用固封式快速真空接触器,通过永磁机构向操动机构中的双头螺杆提供向上的动力,使得双头螺杆通过绝缘子带动动导电杆一起向上运动,动导电杆带动动触头向上运动,进而使动触头与静触头接触,完成合闸动作;通过手动调整分合闸指示杆,使得拐臂带动双头螺杆向下运动,进而使动触头与静触头分离,完成分闸动作。本实用新型由于主导电回路采用了全绝缘、整体全封闭式结构。操动回路封闭在接触器框架内,除一二次接线端子外,其余元器件均无外露,整体美观,抗污秽等级d级。本实用新型结构体积小、工作电流大(可至2000A)、绝缘性能高、合闸速度快(≤3.5ms)、性能可靠,完全满足柔性直流输电系统中作功率模块用旁路接触器的要求。


