授权公布号:CN211632823U
一种具有冷热水混合功能的净水机
有效
申请
2019-11-07
申请公布
1970-01-01
授权
2020-10-09
预估到期
2029-11-07
| 申请号 | CN201921915647.1 |
| 申请日 | 2019-11-07 |
| 授权公布号 | CN211632823U |
| 授权公告日 | 2020-10-09 |
| 分类号 | A47J31/00 |
| 分类 | 家具;家庭用的物品或设备;咖啡磨;香料磨;一般吸尘器; |
| 申请人名称 | 长虹美菱日电科技有限公司 |
| 申请人地址 | 广东省中山市南头镇同济西路2号之一 |
专利法律状态
2020-10-09
授权
状态信息
授权
摘要
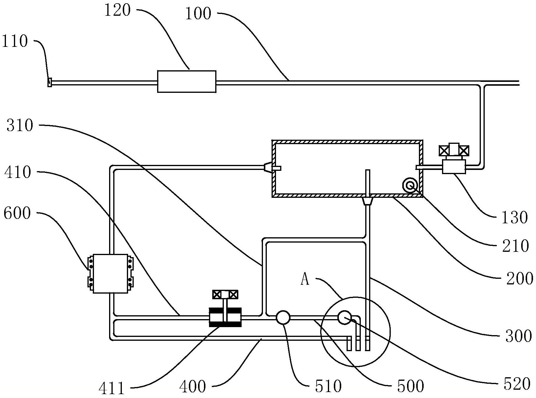
本实用新型公开了一种具有冷热水混合功能的净水机,包括进水管、常温水箱、常温出水管、热水管和温水机构;所述进水管一端设有进水口;所述常温水箱与进水管连通;所述常温出水管一端与常温水箱连通,另一端设有常温出水口;所述热水管一端与常温水箱连通,另一端设有热水出水口,中部安装有加热器;所述温水机构与热水管和常温水箱连通以将热水和常温水混合,所述温水机构设置有温水出水口,所述热水管与温水机构的连通位置位于加热器和热水出水口之间。本设计实现了温水的饮用。相比于将热水自然晾凉,本设计不需要太多时间即可饮用,也避免了人工将热水和常温水混合的麻烦,本设计实现了三种水的饮用,满足用户饮水需求。


