授权公布号:CN218578854U
一种中药生产用自控防差错上料装置
有效
申请
2022-04-15
申请公布
1970-01-01
授权
2023-03-07
预估到期
2032-04-15
| 申请号 | CN202220865244.6 |
| 申请日 | 2022-04-15 |
| 授权公布号 | CN218578854U |
| 授权公告日 | 2023-03-07 |
| 分类号 | B65G43/08;B65G65/40;B65G69/14;B07B1/28;B07B1/50 |
| 分类 | 输送;包装;贮存;搬运薄的或细丝状材料; |
| 申请人名称 | 仲景宛西制药股份有限公司 |
| 申请人地址 | 河南省南阳市西峡县仲景大道168号 |
专利法律状态
2023-03-07
授权
状态信息
授权
摘要
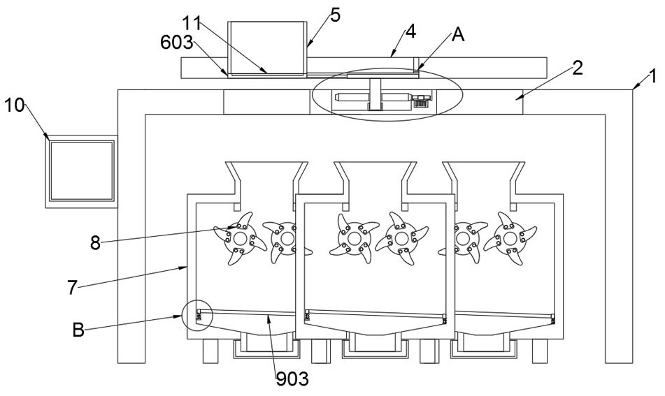
本实用新型公开一种中药生产用自控防差错上料装置,包括支撑架;所述支撑架的内部开设有安装槽,安装槽的内部安装有转动机构,支撑架的底部设置有粉碎腔,粉碎腔的内底部设置有筛分机构,所述转动机构包括有步进电机、小齿轮和大齿轮,本实用新型通过在安装槽的内部安装有转动机构,当料盒底部的称重传感器对药材的重量进行称重,称重传感器将检测的数据发送至PCL控制器的内部,将转盘顶部的料盒药材转动至需要加入的粉碎腔所匹配的下料口的顶部,将药材加入至粉碎腔的内部,对不同种类和重量的药材进行粉碎加工,人员通过控制小齿轮转动的圈数来控制转盘顶部的料盒转动的角度,避免出现不同种类的药材混合的情况,提高中药上料时中药上料的准确性。


