授权公布号:CN106869277B
一种座便器护理液添加结构
有效
申请
2017-04-11
申请公布
2017-06-20
授权
2023-01-13
预估到期
2037-04-11
| 申请号 | CN201710232331.1 |
| 申请日 | 2017-04-11 |
| 申请公布号 | CN106869277A |
| 申请公布日 | 2017-06-20 |
| 授权公布号 | CN106869277B |
| 授权公告日 | 2023-01-13 |
| 分类号 | E03D9/08 |
| 分类 | 给水;排水; |
| 申请人名称 | 中山市美图塑料工业有限公司 |
| 申请人地址 | 广东省中山市南朗镇大车工业区 |
专利法律状态
2023-01-13
授权
状态信息
授权
2017-06-20
公布
状态信息
公布
摘要
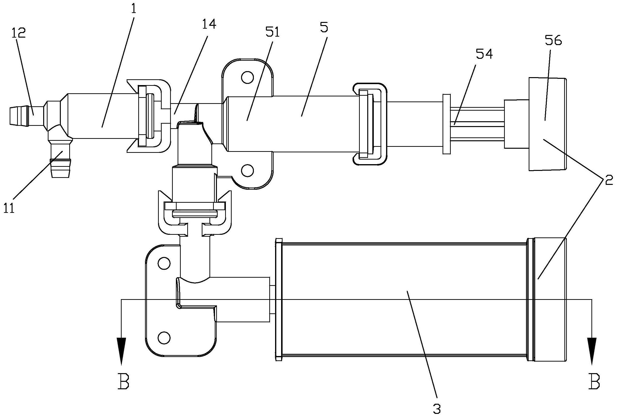
本发明公开了一种座便器护理液添加结构,其包括单向阀,单向阀的单向阀进水管与座便器接水管相连通,单向阀的单向阀出水管与清洗喷管相连通,单向阀还连接有护理液进水管,护理液进水管与护理液自动添加装置相连通,护理液自动添加装置包括护理液加注容器组件和注送器组件,护理液加注容器组件通过护理液出液管与注送器组件相通,注送器组件的注推液管与护理液进水管相通,护理液出液管上设有推动注送器组件后可关闭护理液出液管的阀球。本发明包括单向阀,单向阀连接有护理液进水管,护理液进水管与护理液自动添加装置相连通,安装方便,添加护理液方便,护理液添加操作简单。


