授权公布号:CN109854906B
多维度调节机架、图像识别测试系统及对其进行测试方法
有效
申请
2018-12-29
申请公布
2019-06-07
授权
2024-03-26
预估到期
2038-12-29
| 申请号 | CN201811654230.4 |
| 申请日 | 2018-12-29 |
| 申请公布号 | CN109854906A |
| 申请公布日 | 2019-06-07 |
| 授权公布号 | CN109854906B |
| 授权公告日 | 2024-03-26 |
| 分类号 | F16M11/42;F16M11/12;F16M11/04;H04N23/90;H04N17/00 |
| 分类 | 工程元件或部件;为产生和保持机器或设备的有效运行的一般措施;一般绝热; |
| 申请人名称 | 北京旷视科技有限公司 |
| 申请人地址 | 北京市海淀区科学院南路2号A座313 |
专利法律状态
2024-03-26
授权
状态信息
授权
2019-06-07
公布
状态信息
公布
摘要
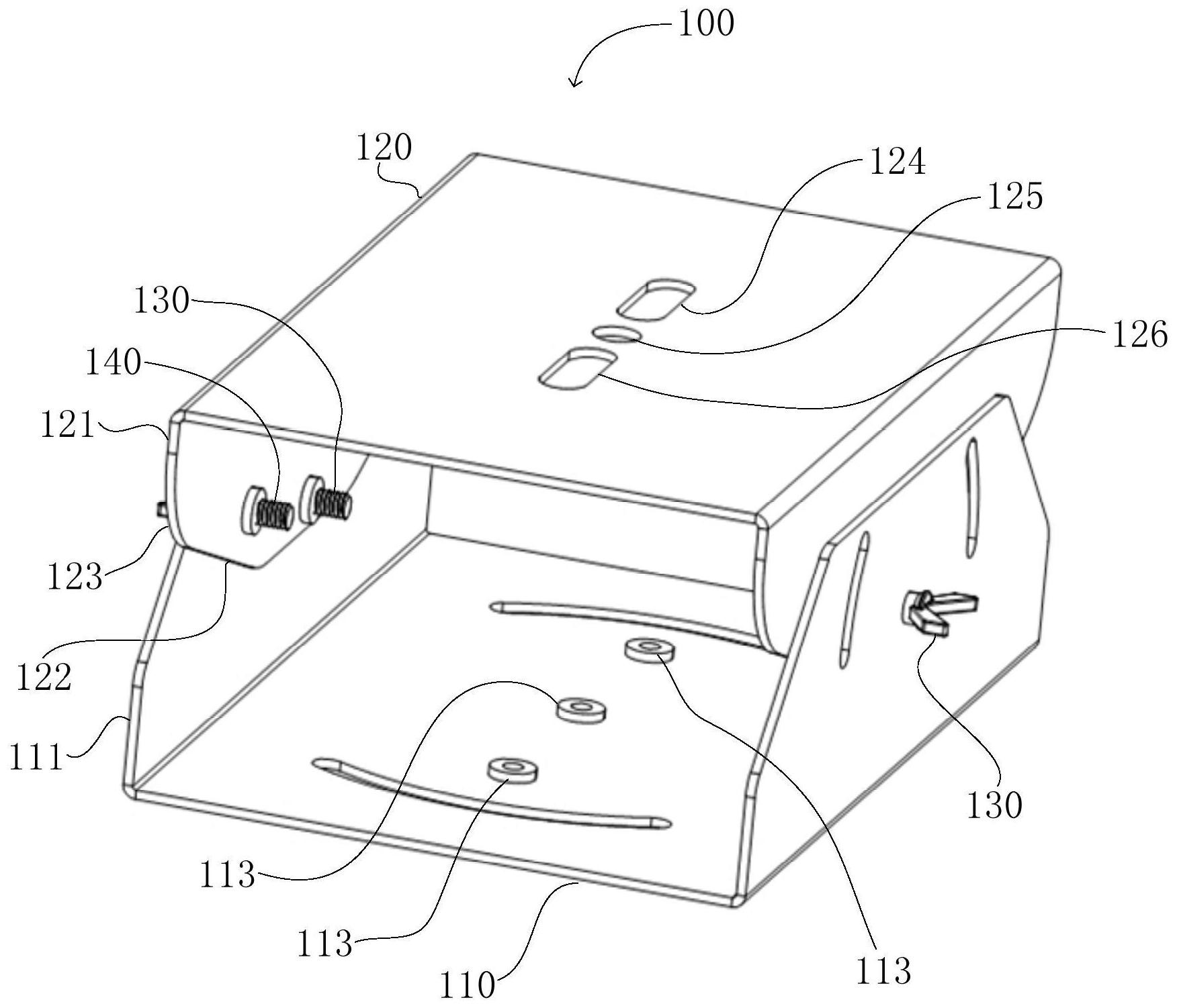
本发明提供一种多维度调节机架、图像识别测试系统及对其进行测试的方法,涉及图像识别的技术领域;该多维度调节机架包括机架本体、设于机架本体上的托盘以及间隔设于托盘上的多个云台;每个云台均包括云台承载座和云台底座,每个云台的云台承载座和云台底座均铰接,云台承载座可绕铰接轴线相对于云台底座摆动,以调节云台承载座的俯仰角。通过本发明,缓解了现有技术中测试架无法实现对单台图像采集设备的姿势独立调整,无法满足工作需求的技术问题。


