授权公布号:CN210644906U
一种带应急照明逃生智慧消防物联网报警消防柜
有效
申请
2019-02-22
申请公布
1970-01-01
授权
2020-06-02
预估到期
2029-02-22
| 申请号 | CN201920221563.1 |
| 申请日 | 2019-02-22 |
| 授权公布号 | CN210644906U |
| 授权公告日 | 2020-06-02 |
| 分类号 | A62C8/00 |
| 分类 | 救生;消防; |
| 申请人名称 | 深圳市永昌达电子有限公司 |
| 申请人地址 | 广东省深圳市宝安区沙井街道共和第1工业区A区第28栋3楼C |
专利法律状态
2020-06-02
授权
状态信息
授权
摘要
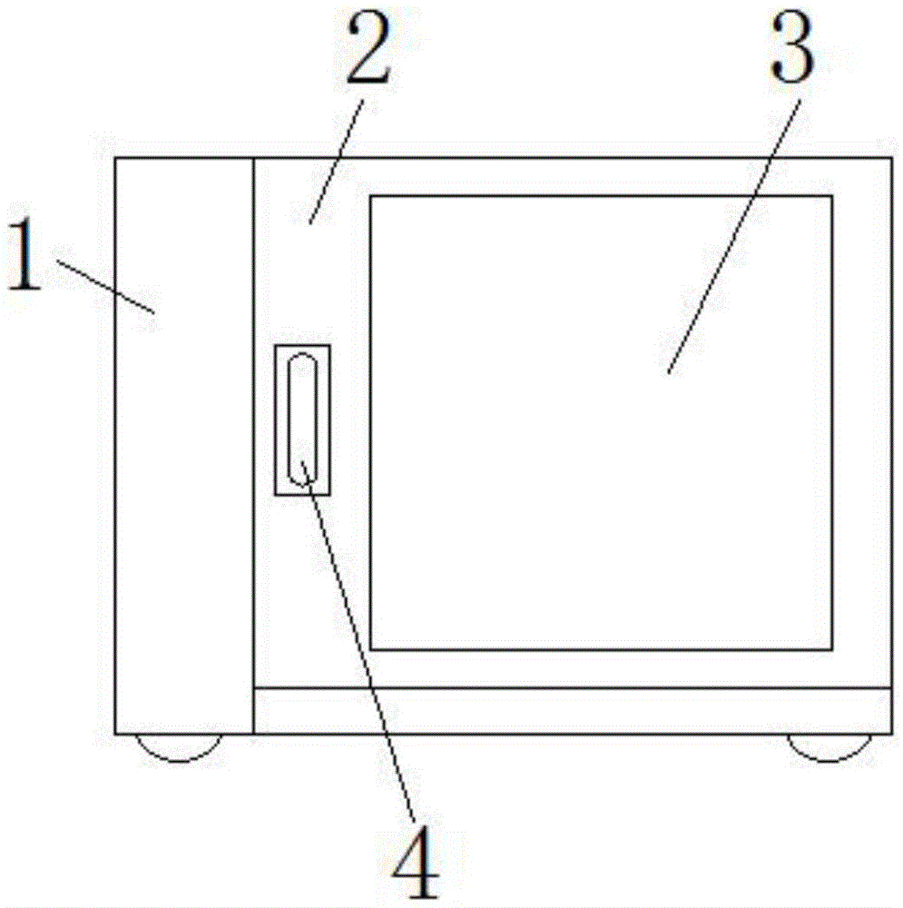
本实用新型公开了一种带应急照明逃生智慧消防物联网报警消防柜,包括消防柜本体,所述消防柜本体的表面开设有柜门,所述柜门与消防柜本体的连接处通过合页活动连接,所述柜门的表面开设有观察窗,所述柜门表面的左侧固定连接有开启把,所述消防柜本体的底部固定连接有支撑腿,所述消防柜本体的背部设有电源插口。本实用新型通过设置消防柜本体、柜门、观察窗、开启把、电源插口,可使装置达到功能多样化的功能,解决了现有市场上消防柜不具备功能多样化的效果,不具备报警灯光,报警声音提示以及与消防控制中心后台和手机端连接的功能,在发生火灾时不易寻找到消防器材,不利于人员快速逃生和灭火工作开展的问题。


