授权公布号:CN218886601U
一种闪存盘
有效
申请
2022-11-18
申请公布
1970-01-01
授权
2023-04-18
预估到期
2032-11-18
| 申请号 | CN202223077542.8 |
| 申请日 | 2022-11-18 |
| 授权公布号 | CN218886601U |
| 授权公告日 | 2023-04-18 |
| 分类号 | G06K19/077 |
| 分类 | 计算;推算;计数; |
| 申请人名称 | 深圳市朗科科技股份有限公司 |
| 申请人地址 | 广东省深圳市南山区高新南六道10号朗科大厦16、18、19层 |
专利法律状态
2023-04-18
授权
状态信息
授权
摘要
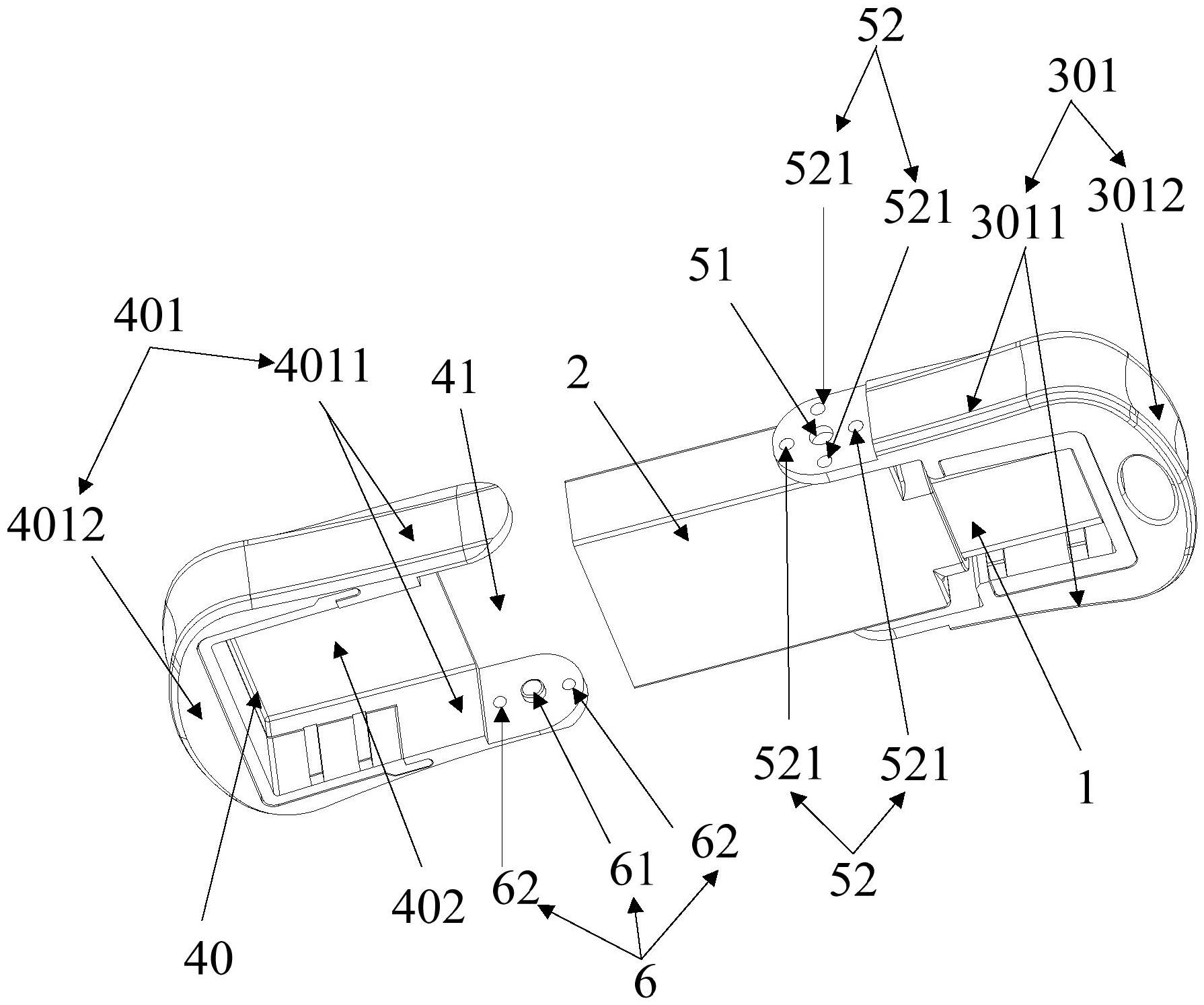
本申请公开了一种闪存盘,其包括存储芯片,所述存储芯片的两端分别具有第一插接端口和第二插接端口;中框,套设于所述存储芯片上,并暴露所述第一插接端口和所述第二插接端口;第一翻转盖帽,设置于所述中框上,并与所述中框转动连接,以遮挡/裸露所述第一插接端口;第二翻转盖帽,设置于所述第一翻转盖帽上,并与所述第一翻转盖帽转动连接,以遮挡/裸露所述第二插接端口,且所述第二翻转盖帽的旋转中心与所述第一翻转盖帽的旋转中心同轴布置,使得所述第一翻转盖帽与所述第二翻转盖帽之间无需预留间隔,从而减小了所述闪存盘的整体长度,所述闪存盘整体更加小巧轻便,提升了所述闪存盘的便携性。


