授权公布号:CN211417127U
一种ETC电子标签防拆结构
有效
申请
2019-08-22
申请公布
1970-01-01
授权
2020-09-04
预估到期
2029-08-22
| 申请号 | CN201921372044.1 |
| 申请日 | 2019-08-22 |
| 授权公布号 | CN211417127U |
| 授权公告日 | 2020-09-04 |
| 分类号 | B60R11/02 |
| 分类 | 一般车辆; |
| 申请人名称 | 北京握奇数据股份有限公司 |
| 申请人地址 | 北京市朝阳区望京利泽中园101号启明国际大厦7层 |
专利法律状态
2020-09-04
授权
状态信息
授权
摘要
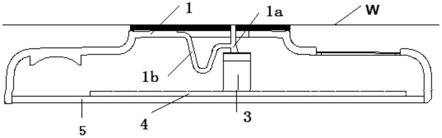
本实用新型公开了一种ETC电子标签防拆结构,其包括主板、防拆开关、与顶杆一体的下壳,下壳内有一顶杆与其成为一体,并且此顶杆贯穿下壳,在顶杆外露出下壳的一端设有手柄,下壳内与顶杆相邻处有一U型弹性结构件,能够产生一弹性力,U型弹性结构件的一侧与相邻的顶杆一起上下活动,压紧时向下活动,其弹性力压至防拆开关上,处于压紧状态,被撬动后向上活动,脱离防拆开关,呈脱离状态。本设计的ETC电子标签防拆结构设计中实现了顶杆和下壳一体,省去了顶杆和开模组装,提高生产效率,节约了成本。


