授权公布号:CN203788249U
一种小型石英晶体谐振器晶片镀膜后拆片系统
有效
申请
2014-03-21
申请公布
1970-01-01
授权
2014-08-20
预估到期
2024-03-21
| 申请号 | CN201420130904.1 |
| 申请日 | 2014-03-21 |
| 授权公布号 | CN203788249U |
| 授权公告日 | 2014-08-20 |
| 分类号 | H03H3/02 |
| 分类 | 基本电子电路; |
| 申请人名称 | 浙江东晶电子股份有限公司 |
| 申请人地址 | 浙江省金华市宾虹西路555号 |
专利法律状态
2017-05-31
专利申请权、专利权的转移
状态信息
专利权的转移;IPC(主分类):H03H3/02;登记生效日:20170512;变更事项:专利权人;变更前:浙江东晶电子股份有限公司;变更后:东晶电子金华有限公司;变更事项:地址;变更前:321000 浙江省金华市宾虹西路555号;变更后:321016 浙江省金华市宾虹西路555号
2014-08-20
授权
状态信息
授权
摘要
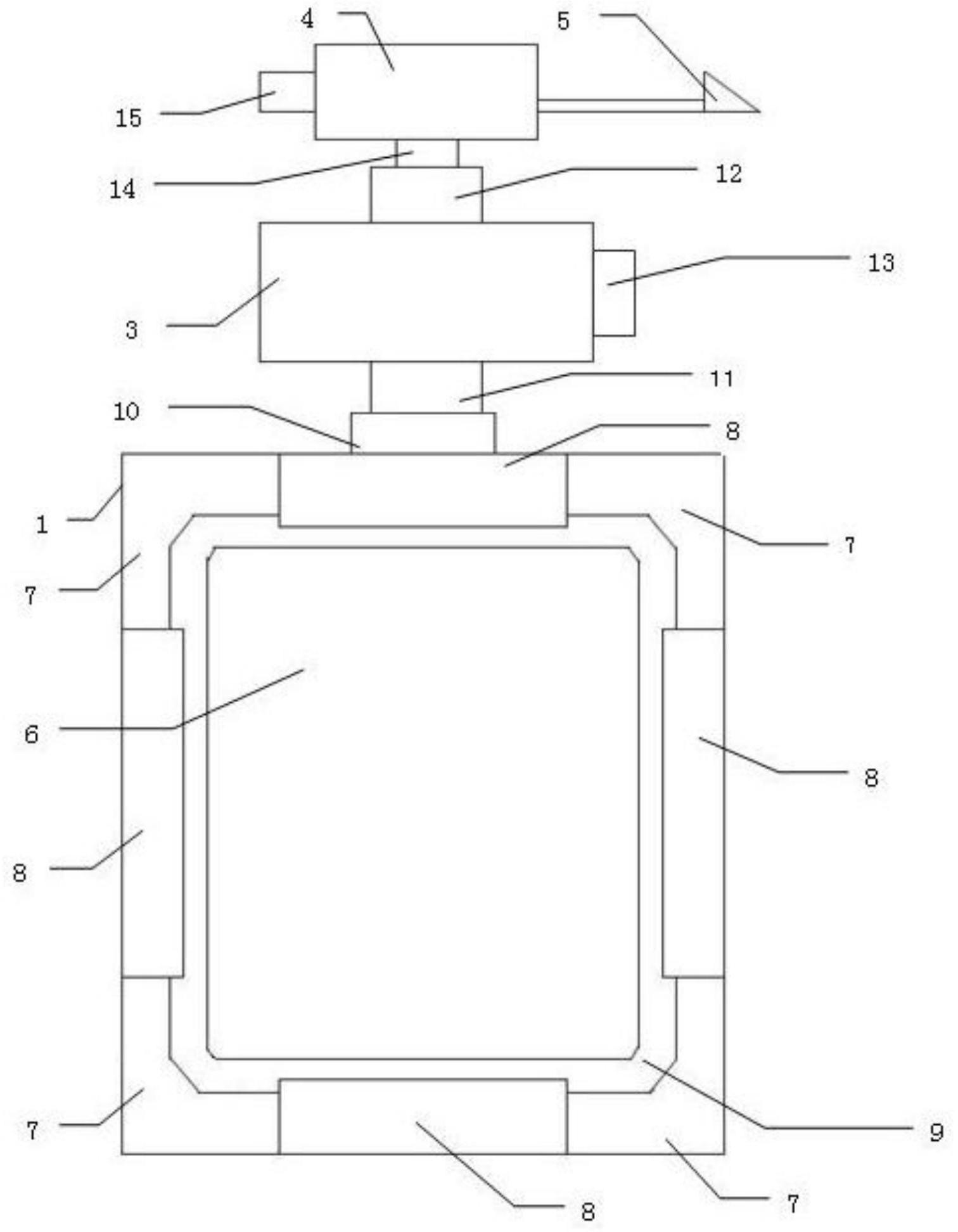
本实用新型属于石英晶体元件的治具领域,具体是一种小型石英晶体谐振器晶片镀膜后拆片系统,包括底座、真空发生器、电磁阀、脚踏开关、晶片翻转盘,其特征在于:底座上有内边缘凸起及外边缘凸起,底座内腔进气口与真空发生器的真空口连通,真空发生器的进气口与电磁阀的出气口连通,电磁阀还带有压缩空气进气口与电磁阀开关,晶片翻转盘由中间带通孔的晶片放置槽和定位孔组成,晶片放置槽的工位及数量与镀膜治具的工位和数量一致,定位孔与镀膜治具的定位销匹配。本实用新型旨在用压力差将晶片与镀银治具安全有效的分离,可以减少晶片划伤与掉落,减少人工手动修正,提高效率,避免污染,延长镀膜治具使用寿命。


