授权公布号:CN213982628U
一种智能楼宇用具有警报作用的监控摄像头
有效
申请
2020-11-30
申请公布
1970-01-01
授权
2021-08-17
预估到期
2030-11-30
| 申请号 | CN202022826076.3 |
| 申请日 | 2020-11-30 |
| 授权公布号 | CN213982628U |
| 授权公告日 | 2021-08-17 |
| 分类号 | F16M11/04;F16M11/12;H04N7/18;H04N5/225;H04N5/232 |
| 分类 | 工程元件或部件;为产生和保持机器或设备的有效运行的一般措施;一般绝热; |
| 申请人名称 | 深圳市克耐克科技有限公司 |
| 申请人地址 | 广东省深圳市龙华新区民治办事处深惠工业园新厂房401 |
专利法律状态
2021-08-17
授权
状态信息
授权
摘要
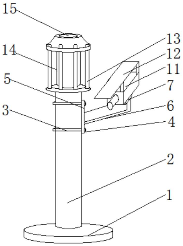
本实用新型属于监控摄像头技术领域,具体公开了一种智能楼宇用具有警报作用的监控摄像头,包括主体和锁紧销轴,所述主体的上方设置有支撑杆,且支撑杆的外部连接有圆环套,所述圆环套的一侧安装有锁紧螺母,且锁紧螺母的左侧连接有连接板,所述连接板的一侧设置有连接杆,且连接杆的上方设置有安装平台,所述安装平台的上方连接有旋转连接座,且旋转连接座的外部安装有调节座,所述锁紧销轴设置于旋转连接座的内部。该智能楼宇用具有警报作用的监控摄像头通过连接板的侧边焊接安装有连接杆,通过连接杆焊接的安装平台进行架设旋转连接座,旋转连接座的内部为轴承连接便于进行转动,通过旋转连接座对监控探头进行转动调节监控角度。


