授权公布号:CN213754750U
一种带云对讲功能的可视对讲套装
有效
申请
2020-12-07
申请公布
1970-01-01
授权
2021-07-20
预估到期
2030-12-07
| 申请号 | CN202022911878.4 |
| 申请日 | 2020-12-07 |
| 授权公布号 | CN213754750U |
| 授权公告日 | 2021-07-20 |
| 分类号 | H04N7/18;G07C9/20;G07C9/33;G07C9/37;F16M13/02;F16M11/18 |
| 分类 | 电通信技术; |
| 申请人名称 | 深圳市克耐克科技有限公司 |
| 申请人地址 | 广东省深圳市龙华新区民治办事处深惠工业园新厂房401 |
专利法律状态
2021-07-20
授权
状态信息
授权
摘要
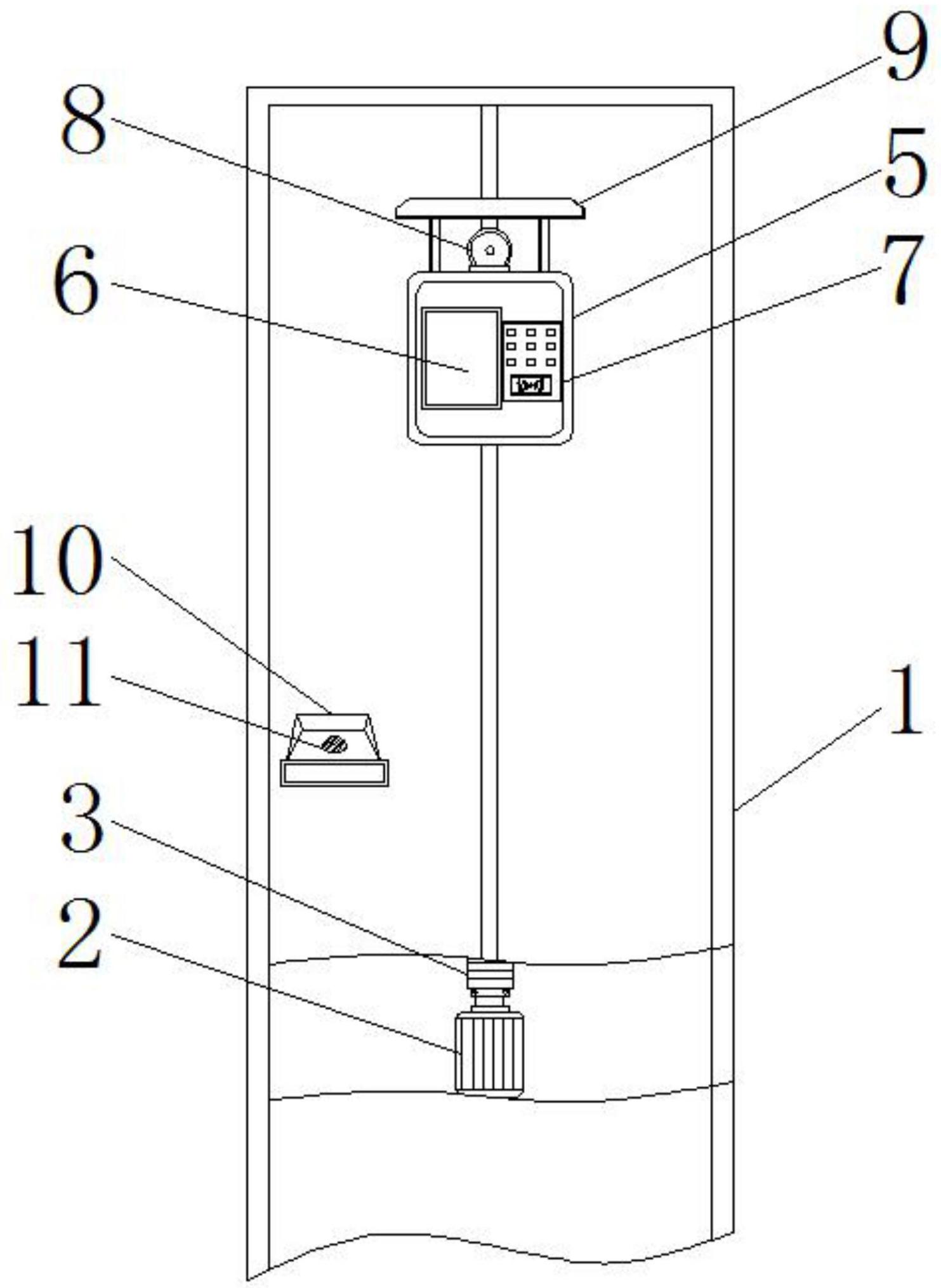
本实用新型公开了一种带云对讲功能的可视对讲套装,包括墙体和安装板,所述墙体内部设置有电机,且电机上端连接有丝杠,所述丝杠外表面连接有滑块,且滑块外壁连接有第一对讲壳体,所述第一对讲壳体外壁设置有第一显示屏,且第一显示屏右方设置有解锁区,所述第一对讲壳体上端安置有摄像头,且摄像头上方设置有挡尘板,所述墙体外壁固定有支撑座。该带云对讲功能的可视对讲套装,第一对讲壳体可通过电机的旋转带动丝杠外表面的滑块上下移动,从而对第一对讲壳体的高度进行调节,配合摄像头能够对不同身高的访客进行视频采集,而摄像头上方安置的挡尘板能够防止灰尘积累在摄像头外表面造成污染,提高摄像的清晰度。


