授权公布号:CN218630190U
距离传感器
有效
申请
2022-09-22
申请公布
1970-01-01
授权
2023-03-14
预估到期
2032-09-22
| 申请号 | CN202222518237.1 |
| 申请日 | 2022-09-22 |
| 授权公布号 | CN218630190U |
| 授权公告日 | 2023-03-14 |
| 分类号 | G01S17/08;G01S7/481 |
| 分类 | 测量;测试; |
| 申请人名称 | 深圳市瑞丰光电子股份有限公司 |
| 申请人地址 | 广东省深圳市光明新区公明办事处田寮社区第十工业区1栋六楼 |
专利法律状态
2023-03-14
授权
状态信息
授权
摘要
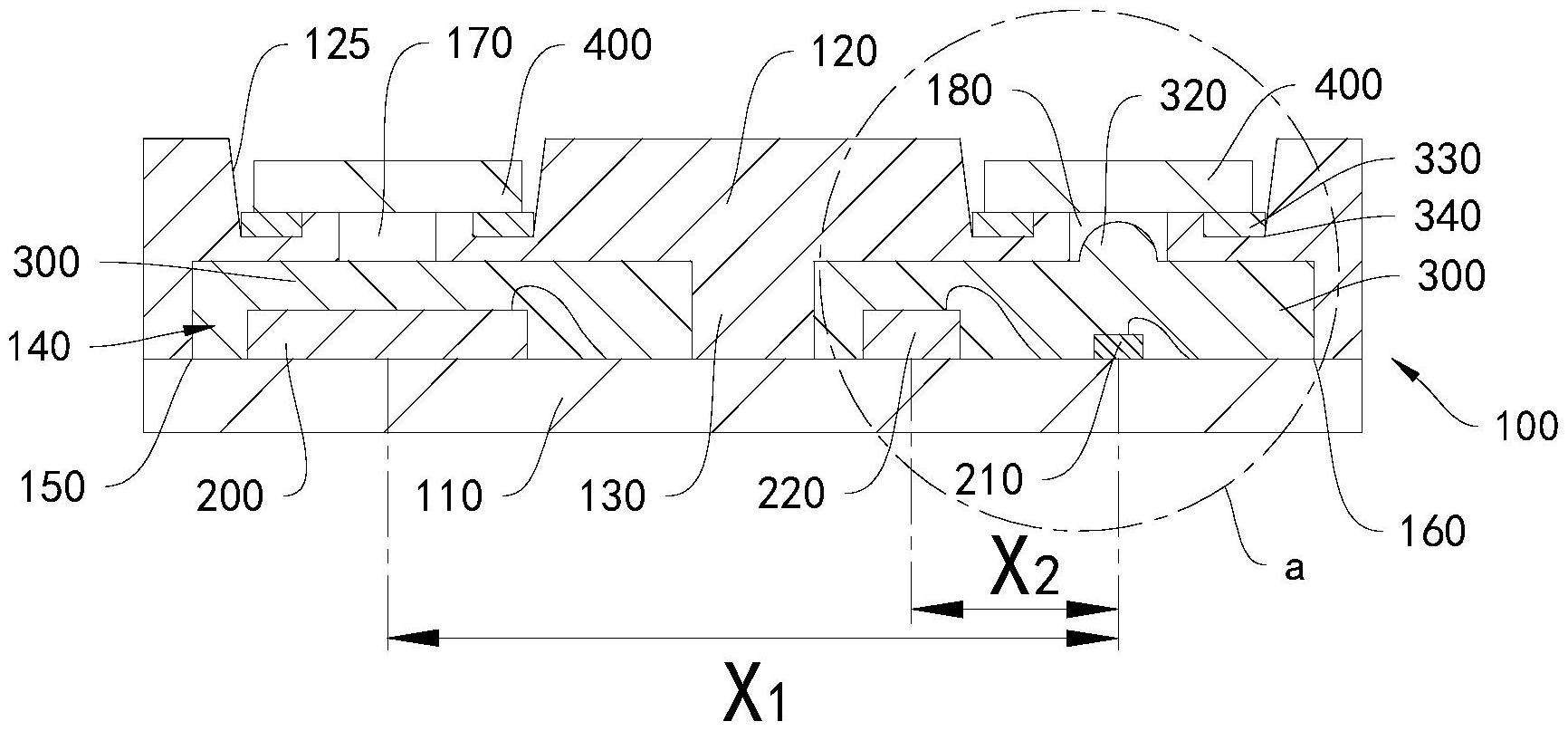
本实用新型公开了一种距离传感器。距离传感器包括主体、第一接收芯片、发射芯片和第二接收芯片,主体包括基部和透光部,基部与透光部共同限定出容置腔,透光部设置有连通容置腔的第一通孔和第二通孔,第一接收芯片、发射芯片和第二接收芯片均固定于基部且位于容置腔内,第一通孔用于第一接收芯片的收光,第二通孔用于发射芯片的出光,其中,第二接收芯片与第一接收芯片的间距X1,大于第二接收芯片与发射芯片的间距X2。当目标物体与距离传感器之间的距离为零时,目标物体与距离传感器贴合,且第二通孔被目标物体遮挡,发射芯片发射的光线被目标物体反射回容置腔内,第二接收芯片接收到被反射回容置腔内的光线,从而识别出此时为零距离的情况。


