授权公布号:CN111525904B
一种叠层片式高通滤波器
有效
申请
2020-03-12
申请公布
2020-08-11
授权
2023-09-01
预估到期
2040-03-12
| 申请号 | CN202010168910.6 |
| 申请日 | 2020-03-12 |
| 申请公布号 | CN111525904A |
| 申请公布日 | 2020-08-11 |
| 授权公布号 | CN111525904B |
| 授权公告日 | 2023-09-01 |
| 分类号 | H03H9/13;H03H9/54 |
| 分类 | 基本电子电路; |
| 申请人名称 | 深圳市麦捷微电子科技股份有限公司 |
| 申请人地址 | 广东省深圳市坪山区坑梓街道新乔围工业区新发路5号 |
专利法律状态
2023-09-01
授权
状态信息
授权
2020-08-11
公布
状态信息
公布
摘要
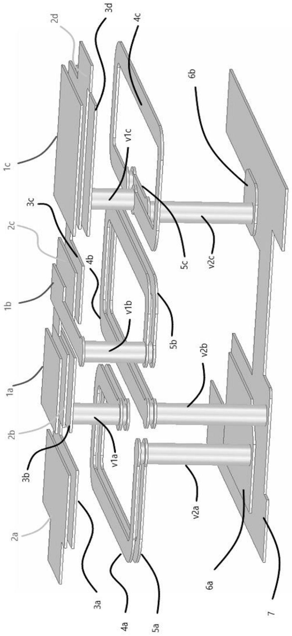
一种叠层片式高通滤波器,包括基体、设置在基体外侧的输入端P1、输出端P2、接地端P3和接地端P4以及设置在基体内部的电路层,所述的基体内部的电路层呈叠层结构,所述的电路层包括有七层,本发明的有益效果是:本发明以LTCC(低温共烧陶瓷)技术为基础,采用集总参数模型设计实现叠层片式高通滤波器的特殊电性能要求;本发明有效实现了高通滤波器的特性,且具有低损耗、高抑制、高可靠性、低成本和适合于大规模的生产等优点,另外还适应了新的电子元件集成化、小型化的发展趋势。


