授权公布号:CN109245699B
一种具有多折叠面的便携太阳能充电宝及充电方法
有效
申请
2018-09-26
申请公布
2019-01-18
授权
2022-02-22
预估到期
2038-09-26
| 申请号 | CN201811121752.8 |
| 申请日 | 2018-09-26 |
| 申请公布号 | CN109245699A |
| 申请公布日 | 2019-01-18 |
| 授权公布号 | CN109245699B |
| 授权公告日 | 2022-02-22 |
| 分类号 | H02S30/20;H02S20/32;H02J7/35;F24S30/425;H01M10/44 |
| 分类 | 发电、变电或配电; |
| 申请人名称 | 广东品能实业股份有限公司 |
| 申请人地址 | 广东省中山市火炬开发区创业路6号 |
专利法律状态
2022-02-22
授权
状态信息
授权
2019-01-18
公布
状态信息
公布
摘要
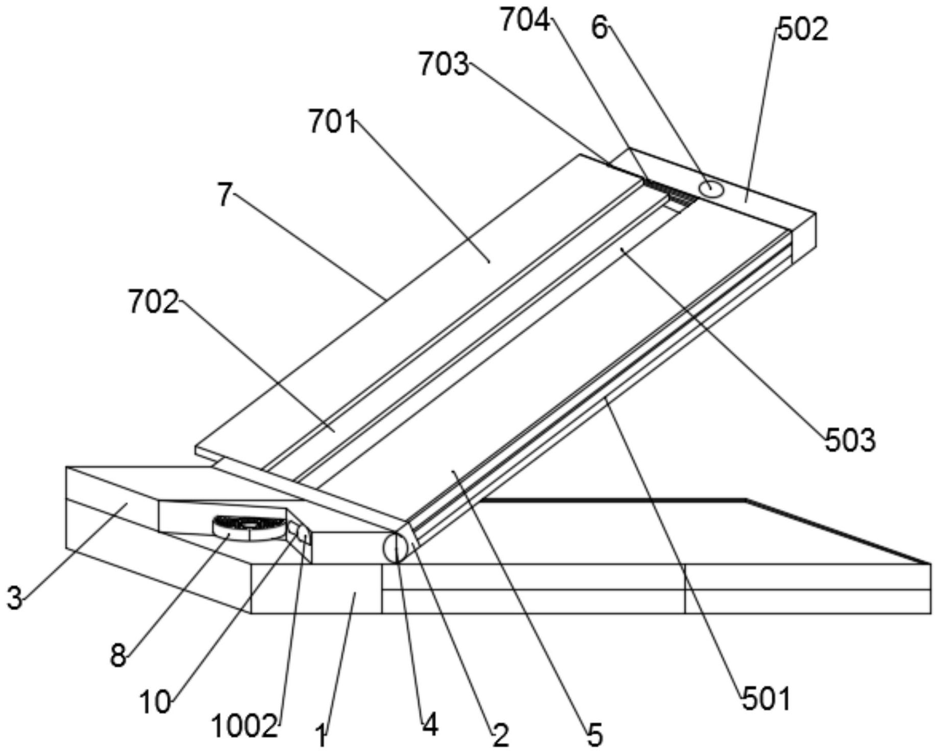
本发明公开了一种具有多折叠面的便携太阳能充电宝,包括电池底板,电池底板上设置有太阳能电池板,太阳能电池板包括支撑转板,支撑转板通过铰接轴连接有电池板组件,电池板组件的顶部设置有光线追踪装置,电池板组件包括主板体以及设置在主板体顶部的轨挡板,主板体上对称布局有两个推拉电池板组,且相对推拉电池板组的主板体表面设置有一体电池板,推拉电池板组包括第一电池板和第二电池板,第一电池板和第二电池板的侧边均设置有平移组件,相对于平移组件的第一电池板和第二电池板上设置有U形槽,第一电池板沿长度方向的一侧铰接有聚光板,实现了太阳能电充电宝的结构简单便携的同时,能够提供稳定的电源输出,提高太阳能充电宝的充电效率。


