授权公布号:CN108839442B
一种喷墨打印机的供墨泵驱动结构
有效
申请
2018-07-27
申请公布
2018-11-20
授权
2024-02-23
预估到期
2038-07-27
| 申请号 | CN201810851777.7 |
| 申请日 | 2018-07-27 |
| 申请公布号 | CN108839442A |
| 申请公布日 | 2018-11-20 |
| 授权公布号 | CN108839442B |
| 授权公告日 | 2024-02-23 |
| 分类号 | B41J2/175 |
| 分类 | 印刷;排版机;打字机;模印机〔4〕; |
| 申请人名称 | 新会江裕信息产业有限公司 |
| 申请人地址 | 广东省江门市新会区今古洲经济开发区江裕路18号 |
专利法律状态
2024-02-23
授权
状态信息
授权
2018-12-14
实质审查的生效
状态信息
实质审查的生效;IPC(主分类):B41J2/175;申请日:20180727
2018-11-20
公布
状态信息
公布
摘要
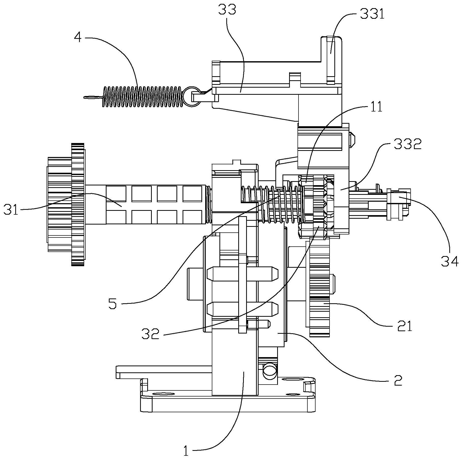
本发明公开了一种喷墨打印机的供墨泵驱动结构,包括有基座以及连接在基座上的供墨泵,所述供墨泵设置有驱动齿轮,所述驱动齿轮连接有传动齿轮;所述基座上还连接有切换装置,所述切换装置包括有传动轴、切换齿轮以及切换滑块,所述切换齿轮滑动连接在所述传动轴靠近传动齿轮的右端部上并跟随所述传动轴同步转动,所述切换齿轮的左侧面与传动轴之间设置有弹簧,所述弹簧推动切换齿轮右移与所述传动齿轮啮合,所述切换滑块设置有供字车推动的挡块并可沿所述传动轴的轴向移动,所述切换滑块设置有与所述切换齿轮的右侧面接触的推块,所述切换滑块的左端连接有拉簧,在所述拉簧的作用下,所述切换滑块将所述切换齿轮限制在左边而脱离传动齿轮。


