授权公布号:CN217342431U
一种投影幕布用表面清洁设备
有效
申请
2022-04-06
申请公布
1970-01-01
授权
2022-09-02
预估到期
2032-04-06
| 申请号 | CN202220782151.7 |
| 申请日 | 2022-04-06 |
| 授权公布号 | CN217342431U |
| 授权公告日 | 2022-09-02 |
| 分类号 | B08B1/00;B08B1/04;B08B5/04;B08B13/00 |
| 分类 | 清洁; |
| 申请人名称 | 张家港宝视特影视器材有限公司 |
| 申请人地址 | 江苏省苏州市张家港市锦丰镇(合兴)杨锦公路东侧张家港宝视特影视器材有限公司 |
专利法律状态
2022-09-02
授权
状态信息
授权
摘要
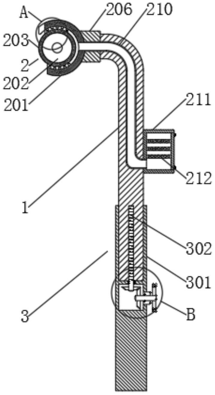
本实用新型公开了一种投影幕布用表面清洁设备,包括清洁支架、粉尘清刷机构、升降控制机构,粉尘清刷机构设于清洁支架的一侧,粉尘清刷机构包括聚尘限位罩,聚尘限位罩内设有限位辊,限位辊的外侧连接有柔性清洁刷,限位辊内连接有驱动转轴,驱动转轴位于聚尘限位罩外的两端均传动连接有旋转电机,升降控制机构设于清洁支架远离聚尘限位罩的一侧,升降控制机构包括限位连接杆。本实用新型通过设置相应的粉尘清刷机构,可对投影幕布起到清洁的作用,减小了投影幕布表面出现粉尘堆积的情况,降低了粉尘对投影幕布投影效果造成的不良影响,提高了投影幕布的使用效果,降低了投影幕布使用过程中对人员身体健康造成损伤的风险。


