授权公布号:CN219123307U
一种电芯外部补锂装置
有效
申请
2022-12-06
申请公布
1970-01-01
授权
2023-06-02
预估到期
2032-12-06
| 申请号 | CN202223271400.5 |
| 申请日 | 2022-12-06 |
| 授权公布号 | CN219123307U |
| 授权公告日 | 2023-06-02 |
| 分类号 | H01M10/42;H01M4/139;H01M4/13 |
| 分类 | 基本电气元件; |
| 申请人名称 | 浙江南都电源动力股份有限公司 |
| 申请人地址 | 浙江省杭州市临安市青山湖街道景观大道72号 |
专利法律状态
2023-06-02
授权
状态信息
授权
摘要
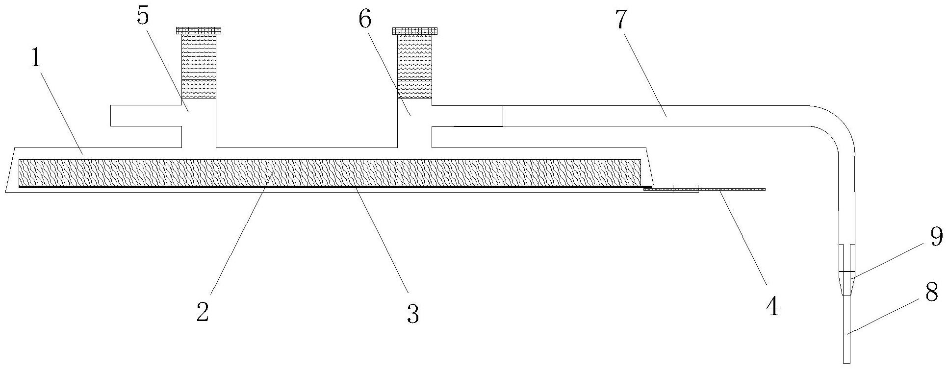
本实用新型公开了一种电芯外部补锂装置,包括铝塑膜壳,所述铝塑膜壳内设有锂金属和集流体,所述锂金属和集流体导电连接,所述集流体上导电连接有极耳,所述极耳引出至所述铝塑膜壳外部;所述铝塑膜壳上设有电解液进口和电解液出口,所述电解液出口处连接有软胶管和/或电芯插入管。本实用新型目的在于解决现有技术中存在的技术问题,提供一种电芯外部补锂装置,它能同时针对铝壳电芯与软包电芯补锂,前期生产、改型等费用投入较低且方便,但无法重复使用。


