授权公布号:CN215732101U
一种蓄电池用连接端极柱铜芯
有效
申请
2021-08-11
申请公布
1970-01-01
授权
2022-02-01
预估到期
2031-08-11
| 申请号 | CN202121880904.X |
| 申请日 | 2021-08-11 |
| 授权公布号 | CN215732101U |
| 授权公告日 | 2022-02-01 |
| 分类号 | H01M50/543 |
| 分类 | 基本电气元件; |
| 申请人名称 | 旭派电源有限公司 |
| 申请人地址 | 江苏省宿迁市宿迁生态化工科技产业园南化路66号 |
专利法律状态
2022-02-01
授权
状态信息
授权
摘要
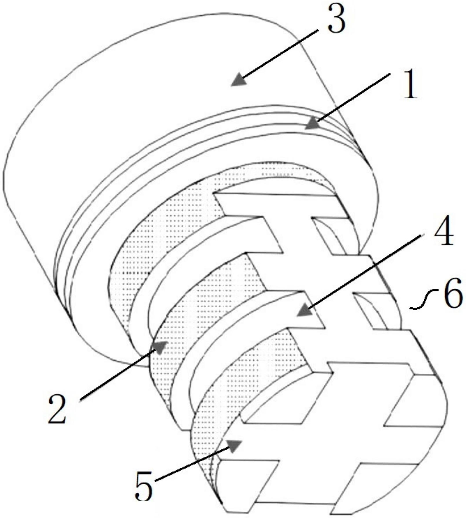
本实用新型提供一种蓄电池用连接端极柱铜芯,具体涉及蓄电池领域,包括第一导电柱、第二导电柱和第三导电柱,第二导电柱与第一导电柱的端面连接,且第二导电柱直径小于第一导电柱直径;第三导电柱与第二导电柱的端面连接,第三导电柱直径小于第一导电柱直径;第三导电柱的外围设有若干固定槽,且固定槽沿圆周方向绕第三导电柱一周;第三导电柱外围设于若干麻点状凸起,且固定槽内光滑结构。本实用新型不仅连接牢靠,且局部具有良好的传热性。


