授权公布号:CN215377575U
一种通用可互换性电池仓及电源装置
有效
申请
2021-04-29
申请公布
1970-01-01
授权
2021-12-31
预估到期
2031-04-29
| 申请号 | CN202120923756.9 |
| 申请日 | 2021-04-29 |
| 授权公布号 | CN215377575U |
| 授权公告日 | 2021-12-31 |
| 分类号 | H01M50/244;H01M50/249;H01M50/267;H01M50/289 |
| 分类 | 基本电气元件; |
| 申请人名称 | 天津小鸟车业有限公司 |
| 申请人地址 | 天津市滨海新区大港经济开发西区安和路 |
专利法律状态
2021-12-31
授权
状态信息
授权
摘要
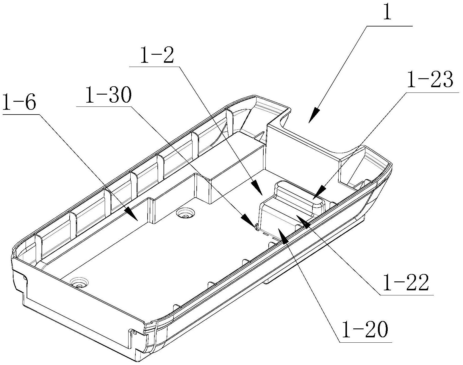
本实用新型公开了一种通用可互换性电池仓及电源装置,包括电池仓本体,所述电池仓本体内设有电池容纳腔,其特征在于:在电池容纳腔内电池仓底板上一体设有断裂式隔挡支撑件,隔挡支撑件的四周设有与电池仓底板连接的断裂部;所述隔挡支撑件将电池容纳仓分隔为第一电池模组安装区和第二电池模组安装区。在上述的电池仓内的电池模组构成电源装置;本实用新型通过是否折断隔挡支撑件,来适用于市场主流配置的通用电池仓,该结构在可靠性高的情况下可实现快速更换,便于安装操作。


