授权公布号:CN214952167U
前叉弯曲疲劳测试固定模具
有效
申请
2021-03-16
申请公布
1970-01-01
授权
2021-11-30
预估到期
2031-03-16
| 申请号 | CN202120543136.2 |
| 申请日 | 2021-03-16 |
| 授权公布号 | CN214952167U |
| 授权公告日 | 2021-11-30 |
| 分类号 | G01M17/007;G01M13/00 |
| 分类 | 测量;测试; |
| 申请人名称 | 捷安特(中国)有限公司 |
| 申请人地址 | 江苏省苏州市昆山市经济技术开发区顺帆路1号 |
专利法律状态
2021-11-30
授权
状态信息
授权
摘要
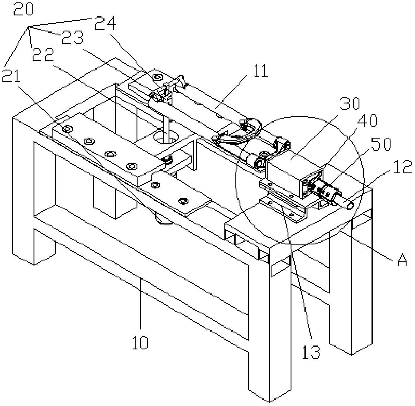
本实用新型涉及一种前叉弯曲疲劳测试固定模具,包括支撑架、施力机构、竖杆固定机构、锁紧块和推紧组件,所述施力机构和竖杆固定机构安装于所述支撑架上,所述施力机构用于驱动前叉进行上下运动,竖杆可转动地安装于所述竖杆固定机构内,所述推紧组件用于将锁紧块推紧于竖杆固定机构,所述锁紧块用于将竖杆锁紧防止竖杆发生晃动。本实用新型在测试时,竖杆能够在竖杆固定机构中360°转动而完全模拟实际受力状况,同时利用锁紧块能够牢固锁紧前叉,避免测试过程中前叉发生松动、晃动等异常现象。


