授权公布号:CN220571896U
一种整体式可调节搁架
有效
申请
2023-07-24
申请公布
1970-01-01
授权
2024-03-12
预估到期
2033-07-24
| 申请号 | CN202321939413.7 |
| 申请日 | 2023-07-24 |
| 授权公布号 | CN220571896U |
| 授权公告日 | 2024-03-12 |
| 分类号 | A47F3/06 |
| 分类 | 家具;家庭用的物品或设备;咖啡磨;香料磨;一般吸尘器; |
| 申请人名称 | 澳柯玛股份有限公司 |
| 申请人地址 | 山东省青岛市黄岛区前湾港路315号 |
专利法律状态
2024-03-12
授权
状态信息
授权
摘要
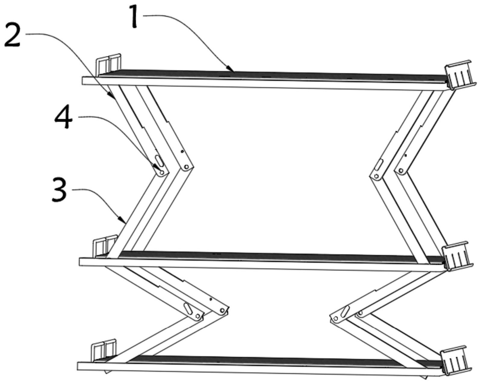
本实用新型涉及展示柜技术领域,具体为一种整体式可调节搁架,包括多层的搁架板,上下两侧搁架板的两侧之间通过四组连接臂连接,每组连接臂包括一个上连接臂和一个下连接臂,上连接臂和下连接臂之间通过调节组件连接,调节组件包括棘轮和棘爪,棘轮安装在下连接臂的顶端,棘爪安装在上连接臂的底端。该整体式可调节搁架中,调节组件能够调节上下两侧搁架板的间距,方便搁架板的折叠和展开,减少了搁架支架、搁架支撑条安装步骤,取消了搁架支撑条与内胆打螺钉的安装工艺,使产品在板链线上的用时剪短,提高了生产效率;客户使用时不需要再将搁架支架卡入搁架支撑条,降低客户操作要求,仅需将搁架按每层需求高度拉起即可使用。


