授权公布号:CN207241889U
宽胎独轮车架
有效
申请
2017-09-13
申请公布
1970-01-01
授权
2018-04-17
预估到期
2027-09-13
| 申请号 | CN201721172013.2 |
| 申请日 | 2017-09-13 |
| 授权公布号 | CN207241889U |
| 授权公告日 | 2018-04-17 |
| 分类号 | B62K1/00;B62K19/30 |
| 分类 | 无轨陆用车辆; |
| 申请人名称 | 耀马车业(中国)有限公司 |
| 申请人地址 | 江苏省苏州市昆山经济技术开发区杜鹃路188号 |
专利法律状态
2018-04-17
授权
状态信息
授权
摘要
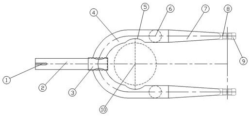
本实用新型公开了宽胎独轮车架,包括坐垫、支撑架、固定块、固定曲臂、定位槽、定位销、平衡杆、上盖帽、下盖帽、轮胎位,其特征在于坐垫置于整个结构的最上方,固定块前方两侧分别设置一个固定曲臂,固定曲臂前方设置一个定位槽,固定曲臂之间设置一个轮胎位。本实用新型通过坐垫支撑人体的重量,支撑架用于支撑上部的坐垫以及与下部的轮胎相连接,平衡杆用于调节控制独轮车的平衡状况,起到保证骑行平稳安全的作用,通过上盖帽和下盖帽来调节控制平衡杆,轮胎位通过其特殊的大于常规尺寸三倍的位置来放置安装轮胎,可容纳更宽的车胎,以便在沙滩或雪地等松软路面骑行,本实用新型还具有制造成本低、牢固耐用,且各构件连接灵活的特点。


