授权公布号:CN220614046U
聪明扣预装专用夹爪及带有该夹爪的预装装置
有效
申请
2023-08-23
申请公布
1970-01-01
授权
2024-03-19
预估到期
2033-08-23
| 申请号 | CN202322285140.5 |
| 申请日 | 2023-08-23 |
| 授权公布号 | CN220614046U |
| 授权公告日 | 2024-03-19 |
| 分类号 | B25J15/08;B25J15/00;B25B27/02 |
| 分类 | 手动工具;轻便机动工具;手动器械的手柄;车间设备;机械手; |
| 申请人名称 | 雅迪科技集团有限公司 |
| 申请人地址 | 江苏省无锡市锡山区安镇街道大成工业园东盛路 |
专利法律状态
2024-03-19
授权
状态信息
授权
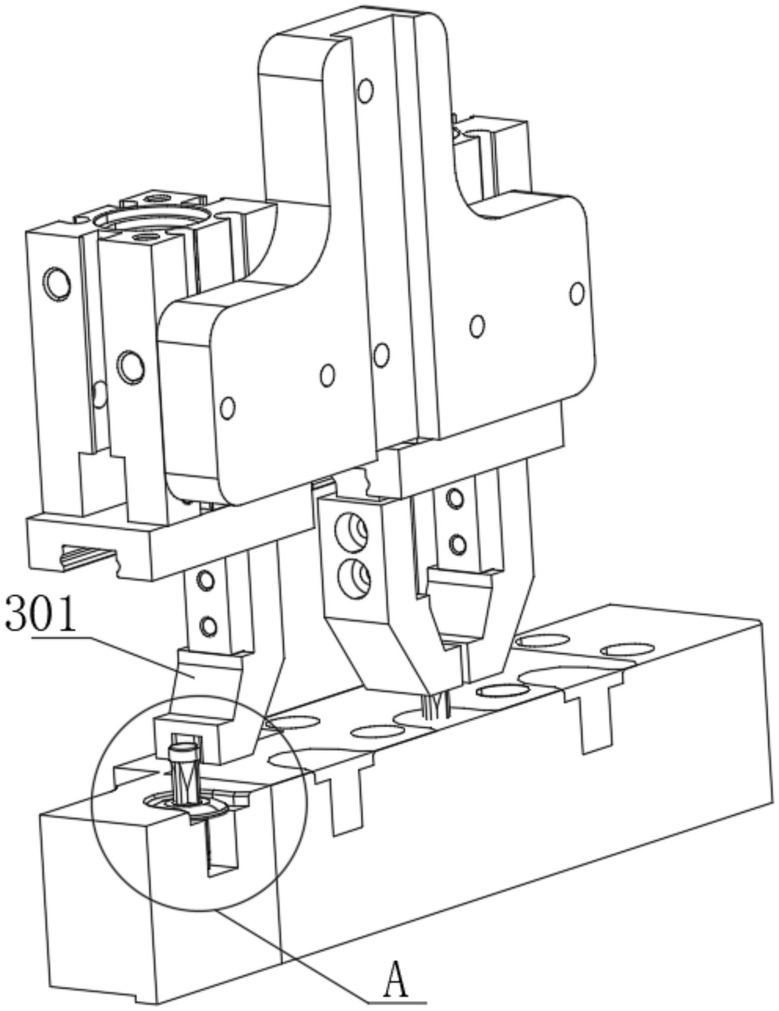
摘要
本实用新型涉及一种聪明扣预装专用夹爪及带有该夹爪的预装装置,专用夹爪包括两个相对滑移的爪体,两个爪体的夹持面上设有用于容纳聪明扣零件的限位区域,所述限位区域内凹成型在爪体的夹持面上,包括与聪明扣零件挤压接触的受力面、位于聪明扣零件上方的限位面;所述受力面至少设有两个,受力面与聪明扣零件之间线接触或面接触。本实用新型主要改进点为夹爪的夹持面上的限位区域形态结构。常规的夹持面通常只做出一处凹陷,本实用新型采用两个斜面形成三棱柱状的限位区域,每个限位面均能够与待夹持的子扣之间形成线接触或面接触,即共有四个线接触位置,夹持更为稳定。


