授权公布号:CN213416128U
一种新能汽车的维修用的调节梯
有效
申请
2020-06-09
申请公布
1970-01-01
授权
2021-06-11
预估到期
2030-06-09
| 申请号 | CN202021040988.1 |
| 申请日 | 2020-06-09 |
| 授权公布号 | CN213416128U |
| 授权公告日 | 2021-06-11 |
| 分类号 | B66F7/06;B66F7/28 |
| 分类 | 卷扬;提升;牵引; |
| 申请人名称 | 江苏速利达机车有限公司 |
| 申请人地址 | 江苏省徐州市丰县经济开发区丰邑路、果都路交叉口 |
专利法律状态
2021-06-11
授权
状态信息
授权
摘要
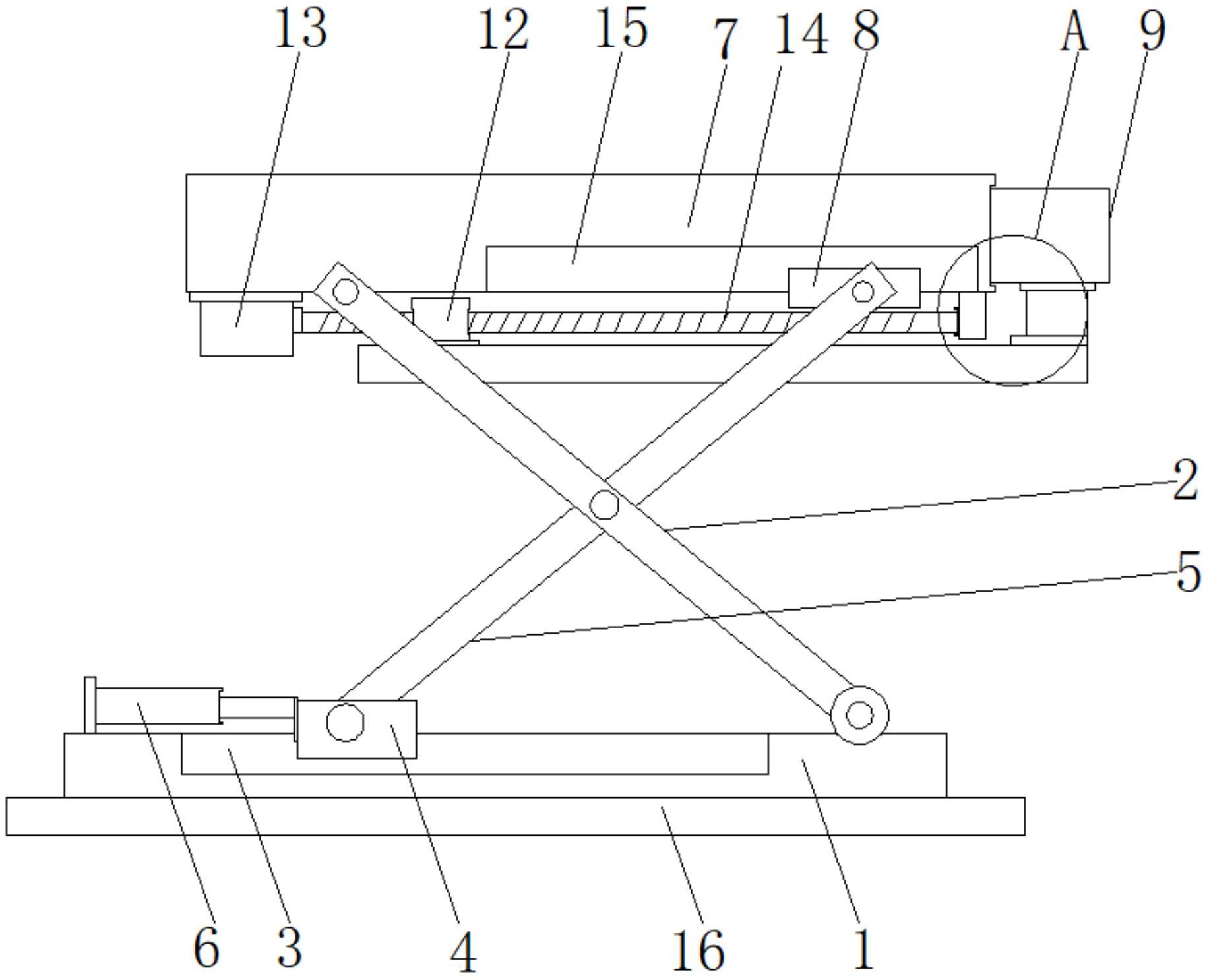
本实用新型公开了一种新能汽车的维修用的调节梯,包括固定板,所述固定板的顶部转动有连接杆,且固定板的顶部设置有滑槽,所述滑槽的内壁滑动连接有滑块,且滑块上转动连接有固定杆,所述滑块与固定板之间设置有液压缸,所述连接杆的顶端转动有支撑板,且固定杆的顶端转动有限位块,所述限位块与支撑板的底部滑动连接,本实用新型涉及汽车维修技术领域。该新能汽车的维修用的调节梯,解决了现有的调节梯顶部空间小,不能伸展空间,对汽车维修起到了阻碍,大大降低了汽车维修的效率的问题。


