授权公布号:CN217474623U
一种防拉伤冲压成型模具
有效
申请
2022-06-13
申请公布
1970-01-01
授权
2022-09-23
预估到期
2032-06-13
| 申请号 | CN202221462874.5 |
| 申请日 | 2022-06-13 |
| 授权公布号 | CN217474623U |
| 授权公告日 | 2022-09-23 |
| 分类号 | B21D37/10 |
| 分类 | 基本上无切削的金属机械加工;金属冲压; |
| 申请人名称 | 万年青(上海)运动器材有限公司 |
| 申请人地址 | 上海市青浦区北盈路388号 |
专利法律状态
2022-09-23
授权
状态信息
授权
摘要
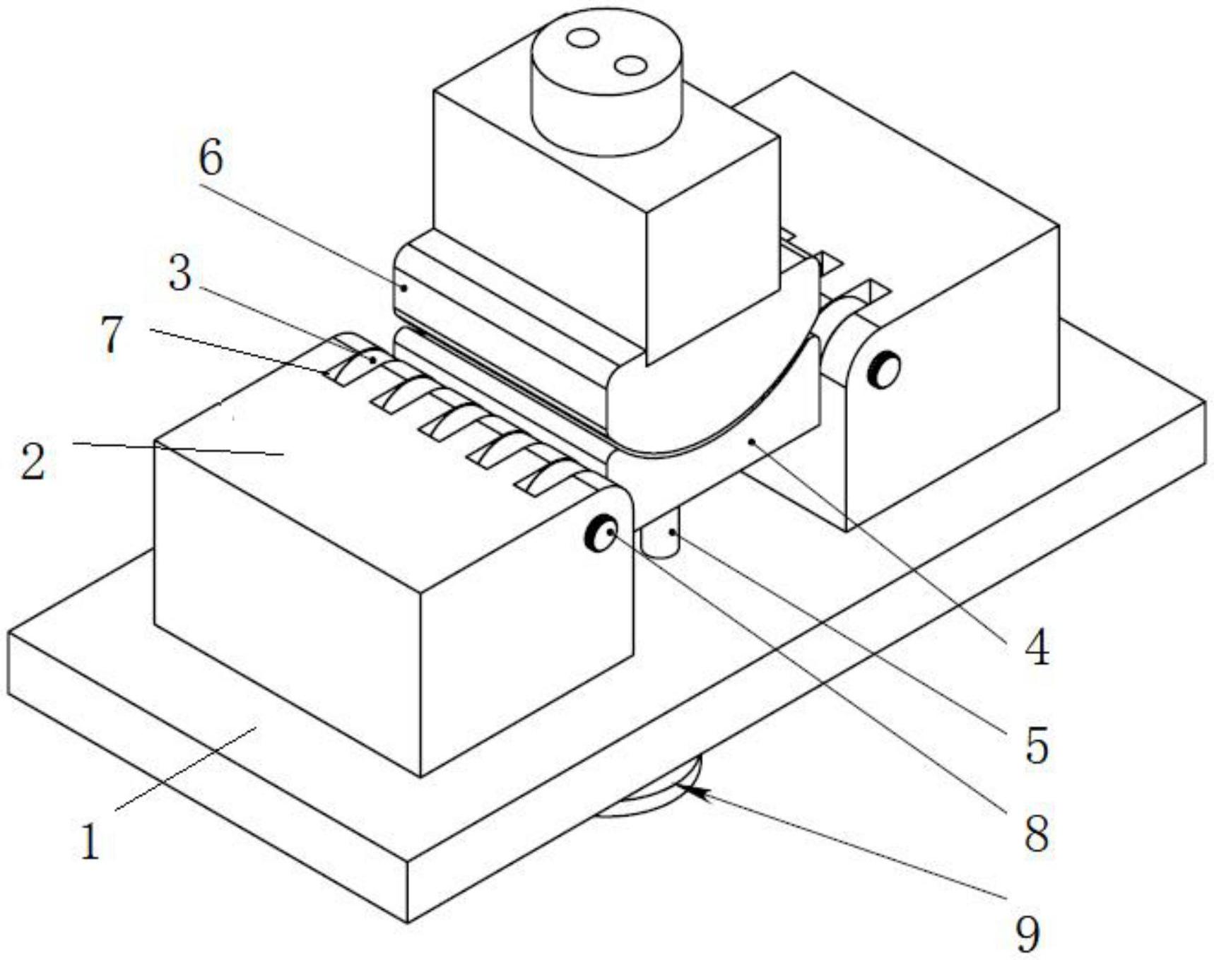
本实用新型涉及运动器材技术领域,具体地说是一种防拉伤冲压成型模具。一种防拉伤冲压成型模具,所述冲压成型模具包括底座、下模架、轴承、下凹模、导向柱、上凸模,所述底座的上端左右两侧分别设有两个下模架,所述下模架的一侧设有若干冲切口,所述冲切口内设有轴承,所述轴承通过中轴与下模架连接,所述两个下模架之间设有下凹模,所述下凹模的上方设有上凸模,所述下凹模的下方设有导向柱。本实用新型同现有技术相比,通过轴承与工件之间产生滚动摩擦,减少工件表面损伤,提高工作效率。


