授权公布号:CN215961965U
一种用于运动器材的圆台阻尼旋转支架结构
有效
申请
2021-07-16
申请公布
1970-01-01
授权
2022-03-08
预估到期
2031-07-16
| 申请号 | CN202121618642.X |
| 申请日 | 2021-07-16 |
| 授权公布号 | CN215961965U |
| 授权公告日 | 2022-03-08 |
| 分类号 | A63B21/015 |
| 分类 | 运动;游戏;娱乐活动; |
| 申请人名称 | 万年青(上海)运动器材有限公司 |
| 申请人地址 | 上海市青浦区北盈路388号 |
专利法律状态
2022-03-08
授权
状态信息
授权
摘要
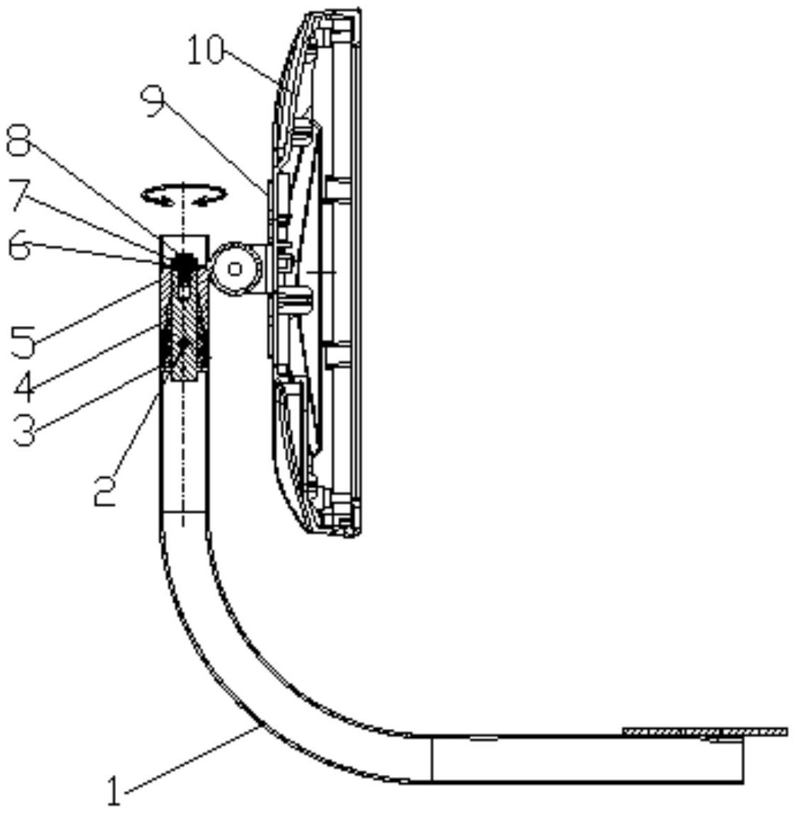
本实用新型涉及运动器材技术领域,具体地说是一种用于运动器材的圆台阻尼旋转支架结构,包括L型支架、旋转轴、外锥面套、旋转支架、螺栓,旋转轴设置在L型支架的顶部,外锥面套固定中旋转轴外,外锥面套的外表面与旋转支架内部的锥孔接触,旋转支架与旋转轴之间采用螺栓连接,螺栓位于旋转支架锥孔的中心线上,旋转轴的侧面与屏幕连接片之间采用转轴连接。本实用新型同现有技术相比,设计了外锥面套、旋转支架锥孔结构,使得摩擦面的面积增加,摩擦阻力力更大、更稳定,在运动器材发生轻微抖动的情况下,能够克服因摩擦阻力不足造成的松动、旋转失效的情况。


