授权公布号:CN219001873U
一种踏步机钢丝绳调节结构
有效
申请
2022-11-25
申请公布
1970-01-01
授权
2023-05-12
预估到期
2032-11-25
| 申请号 | CN202223140204.4 |
| 申请日 | 2022-11-25 |
| 授权公布号 | CN219001873U |
| 授权公告日 | 2023-05-12 |
| 分类号 | A63B22/04 |
| 分类 | 运动;游戏;娱乐活动; |
| 申请人名称 | 万年青(上海)运动器材有限公司 |
| 申请人地址 | 上海市青浦区北盈路388号 |
专利法律状态
2023-05-12
授权
状态信息
授权
摘要
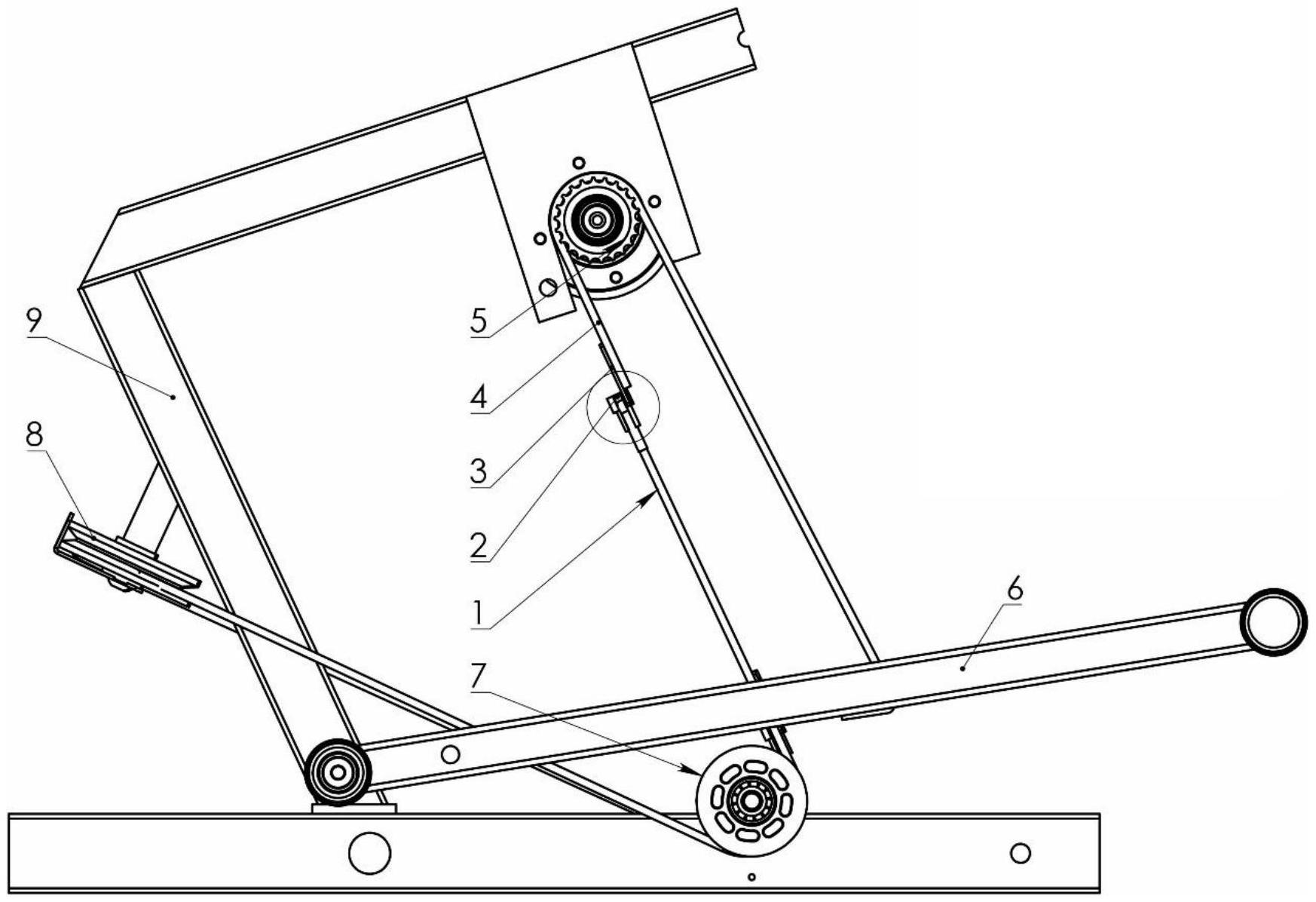
本实用新型涉及运动器材技术领域,具体地说是一种踏步机钢丝绳调节结构,包括主架,其特征在于:所述主架两侧设有结构相同的左踏步结构和右踏步结构,左踏步结构包括脚踏杆,脚踏杆一端与主架连接,脚踏杆上设有同步带,同步带经过固设于主架上方的同步带轮后与连接片的一端连接,连接片的另一端与钢丝绳扣头连接,钢丝绳扣头与钢丝绳的端头连接,钢丝绳经过固设在主架下方的滑轮组和主架前侧的转向轮连接右踏步结构的钢丝绳扣头同现有技术相比,提高了同步带的使用寿命,增加了器材的安全性,有效调节同步带使用效率。


