授权公布号:CN215444684U
一种曲柄的可拆卸防松固定装置
有效
申请
2021-08-10
申请公布
1970-01-01
授权
2022-01-07
预估到期
2031-08-10
| 申请号 | CN202121856575.5 |
| 申请日 | 2021-08-10 |
| 授权公布号 | CN215444684U |
| 授权公告日 | 2022-01-07 |
| 分类号 | F16B13/06;A63B22/04;A63B23/04 |
| 分类 | 工程元件或部件;为产生和保持机器或设备的有效运行的一般措施;一般绝热; |
| 申请人名称 | 中大体育产业集团股份有限公司 |
| 申请人地址 | 山东省日照市开发区重庆路567号 |
专利法律状态
2022-01-07
授权
状态信息
授权
摘要
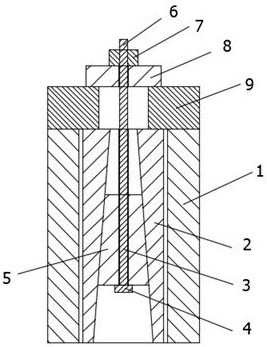
本实用新型公开了一种曲柄的可拆卸防松固定装置,用于固定太空漫步机的脚踏曲柄,包括:固定器,固定在太空漫步及的转轮芯轴内,固定套,固定在脚踏曲柄与转轮芯轴连接的一端,所述固定器设有固定管,固定管的中心设有芯孔,固定管的端部设有端板,端板的中心设有于芯孔同轴的第一通孔;所述固定套设有外套管和内芯轴,外套管和内芯轴通过锥面配合,内芯轴的中心设有紧固装置。本实用新型的有益效果是:实现了固定结构可拆卸的同时,通过端板的限位,解决了螺纹松动的导柱曲柄掉落的问题。


