授权公布号:CN214826949U
一种电源线卡扣的自动排序装置
有效
申请
2021-07-07
申请公布
1970-01-01
授权
2021-11-23
预估到期
2031-07-07
| 申请号 | CN202121531777.2 |
| 申请日 | 2021-07-07 |
| 授权公布号 | CN214826949U |
| 授权公告日 | 2021-11-23 |
| 分类号 | B65G47/28;B65G27/00;B65G47/256;B65G47/88;B23P19/00 |
| 分类 | 输送;包装;贮存;搬运薄的或细丝状材料; |
| 申请人名称 | 中大体育产业集团股份有限公司 |
| 申请人地址 | 山东省日照市开发区重庆路567号 |
专利法律状态
2021-11-23
授权
状态信息
授权
摘要
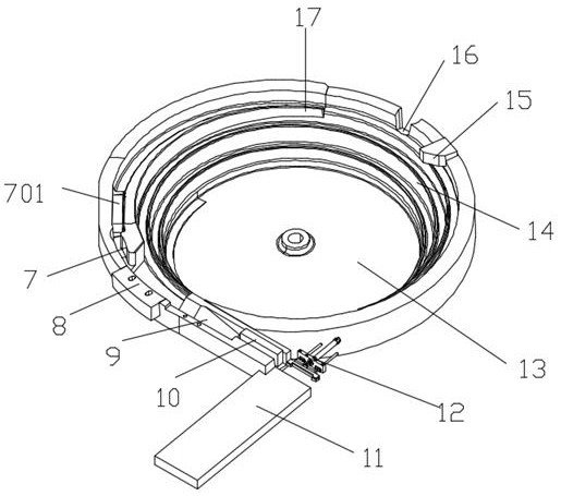
本实用新型公开了电源线卡扣的自动排序装置,包括:振动盘,设置在振动盘料道上的整料器,连接在整料器末端的料匣,所述整料器包括设置在料道上方的挡料板,料道尾部的导料杆;所述料匣为空腔的长方体状,其短边的一侧设有进料口,该进料口同时为出口料口,所述电源线卡扣沿料匣长边的方向并列同向的排在料匣内。本实用新型的有益效果是:实现了电源线卡扣的自动排序,并将排序完成的卡扣放置在料匣内,为电源线卡扣的自动化装配和通过电动工具安装提供了条件。


