授权公布号:CN219071968U
一种哑铃凳
有效
申请
2022-12-21
申请公布
1970-01-01
授权
2023-05-26
预估到期
2032-12-21
| 申请号 | CN202223440220.5 |
| 申请日 | 2022-12-21 |
| 授权公布号 | CN219071968U |
| 授权公告日 | 2023-05-26 |
| 分类号 | A63B21/078 |
| 分类 | 运动;游戏;娱乐活动; |
| 申请人名称 | 江苏康力源体育科技股份有限公司 |
| 申请人地址 | 江苏省徐州市邳州市炮车高新技术产业园滨湖大道北侧 |
专利法律状态
2023-05-26
授权
状态信息
授权
摘要
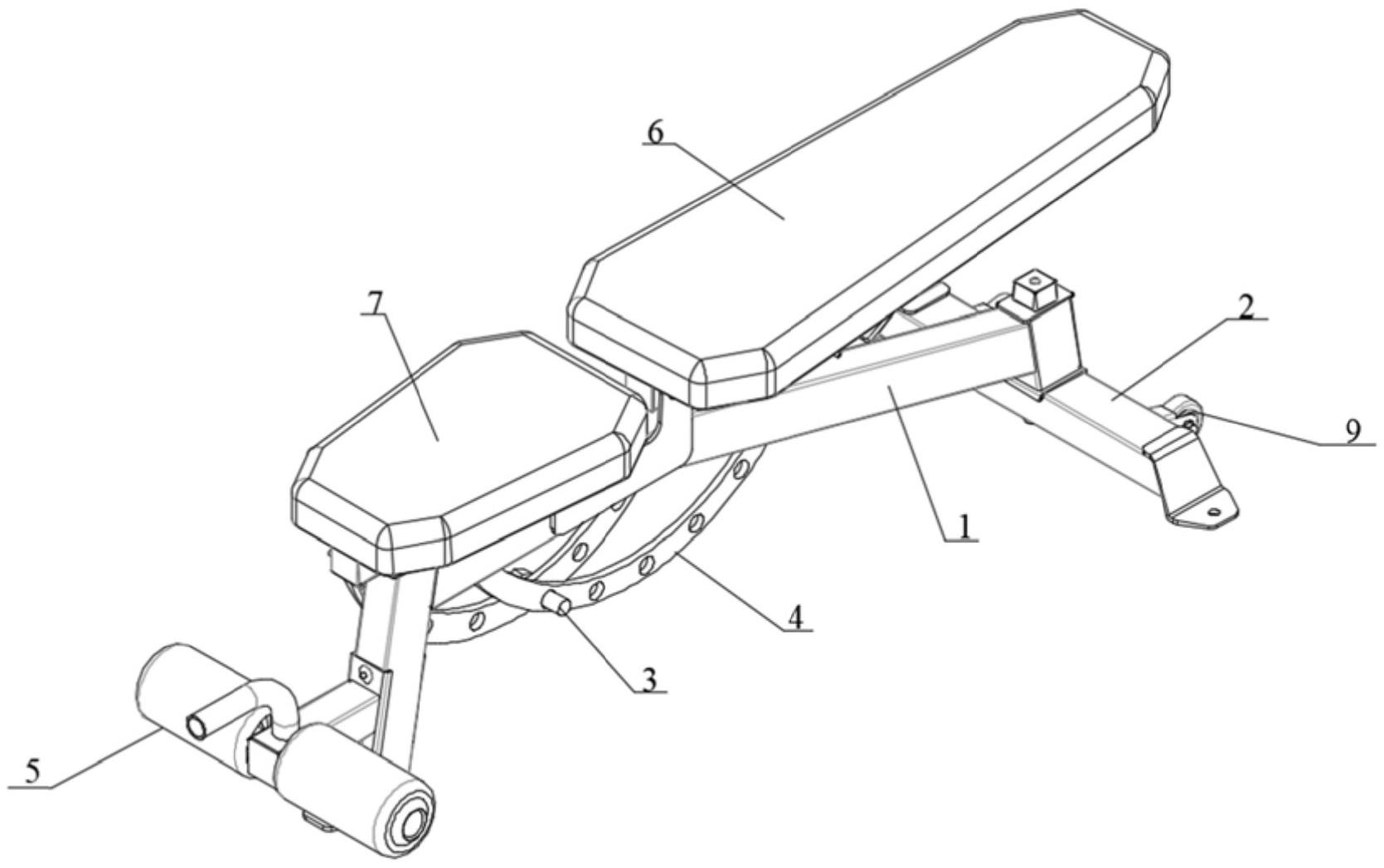
本实用新型公开了一种哑铃凳,包括主架,所述主架上设置有能够转动的靠垫和座垫;其中,所述靠垫和所述座垫上均固定设有一个支撑件,所述支撑件滑动设置在主架上,且所述靠垫和所述座垫在转动时,两个支撑件至少具有第一状态和第二状态;当处于第一状态时,两个所述支撑件相远离,且不产生交叉;当处于第二状态时,两个所述支撑件产生交叉。本实用新型可以同时或独立调节座垫和靠垫的角度,能够满足使用者不同锻炼的需求,也可以满足不同人群的需要。


