授权公布号:CN2607170Y
一种腹肌训练器
有效
申请
2002-08-02
申请公布
1970-01-01
授权
2004-03-24
预估到期
2012-08-02
| 申请号 | CN02243078.4 |
| 申请日 | 2002-08-02 |
| 授权公布号 | CN2607170Y |
| 授权公告日 | 2004-03-24 |
| 分类号 | A63B23/02 |
| 分类 | 运动;游戏;娱乐活动; |
| 申请人名称 | 深圳市好家庭实业有限公司 |
| 申请人地址 | 广东省深圳罗湖区人民南路3002号国贸大厦37层东南侧 |
专利法律状态
2021-06-18
授权
状态信息
授权
2007-09-26
专利权的终止未缴年费专利权终止
状态信息
专利权的终止未缴年费专利权终止
2004-03-24
实用新型专利权授予
状态信息
授权
摘要
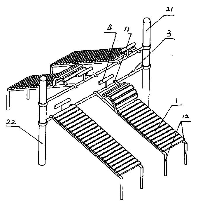
本实用新型涉及健身训练器材,尤其涉及腹肌训练器。它通过改变原有腹肌训练器水平的特点而使腹肌训练板主板有一定的倾斜度,使用它进行锻炼时可使头部得到供血,而且能充分利用人体自身的重量进行平衡,从而解决了现有技术中的腹肌训练器使用时会导致锻炼效果不好的技术问题。


