授权公布号:CN215961983U
多功能哑铃凳
有效
申请
2021-01-12
申请公布
1970-01-01
授权
2022-03-08
预估到期
2031-01-12
| 申请号 | CN202120073622.2 |
| 申请日 | 2021-01-12 |
| 授权公布号 | CN215961983U |
| 授权公告日 | 2022-03-08 |
| 分类号 | A63B21/078 |
| 分类 | 运动;游戏;娱乐活动; |
| 申请人名称 | 杭州水晶运动机械股份有限公司 |
| 申请人地址 | 浙江省杭州市桐庐县横村镇城东村 |
专利法律状态
2022-03-08
授权
状态信息
授权
摘要
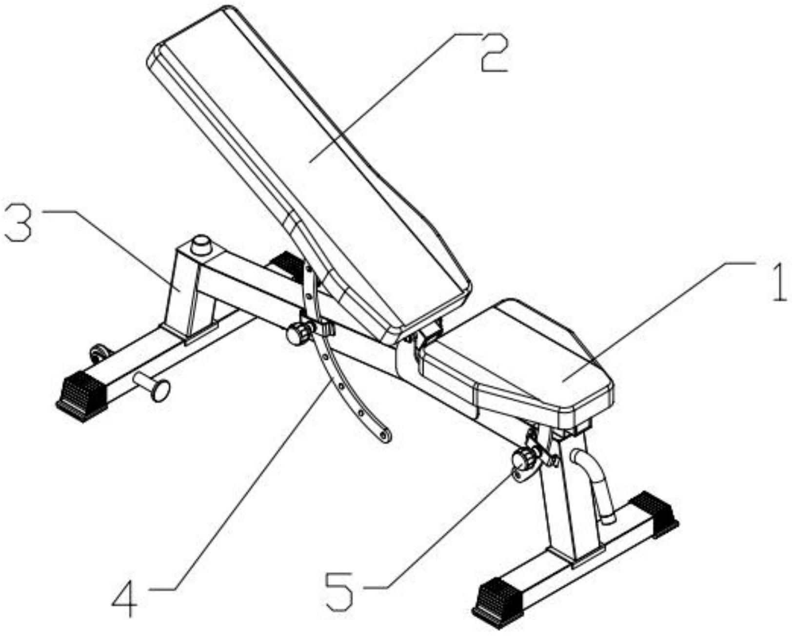
本实用新型公开了一种多功能哑铃凳,具体是指高度可调的多功能哑铃凳。它包括:支撑架、座垫、靠垫和调节杆,所述座垫置于支撑架的上方,所述座垫与支撑架通过调节杆相连,所述靠垫置于支撑架的上方,所述靠垫与支撑架通过调节杆相连,所述调节杆置于支撑架的一侧,所述调节杆与支撑架固定相连。本实用新型的有益效果是:增大支撑架与地面的接触面积,从而提高哑铃凳的稳定性,使靠垫和座垫能够与主架更稳定连接,受到不均匀力时更不容易侧翻,实现多档位调节靠垫和座垫目的。


