授权公布号:CN217246515U
一种主动康复健身车
有效
申请
2022-01-12
申请公布
1970-01-01
授权
2022-08-23
预估到期
2032-01-12
| 申请号 | CN202220065233.X |
| 申请日 | 2022-01-12 |
| 授权公布号 | CN217246515U |
| 授权公告日 | 2022-08-23 |
| 分类号 | A63B22/08 |
| 分类 | 运动;游戏;娱乐活动; |
| 申请人名称 | 杭州水晶运动机械股份有限公司 |
| 申请人地址 | 浙江省杭州市桐庐县横村镇城东村 |
专利法律状态
2022-08-23
授权
状态信息
授权
摘要
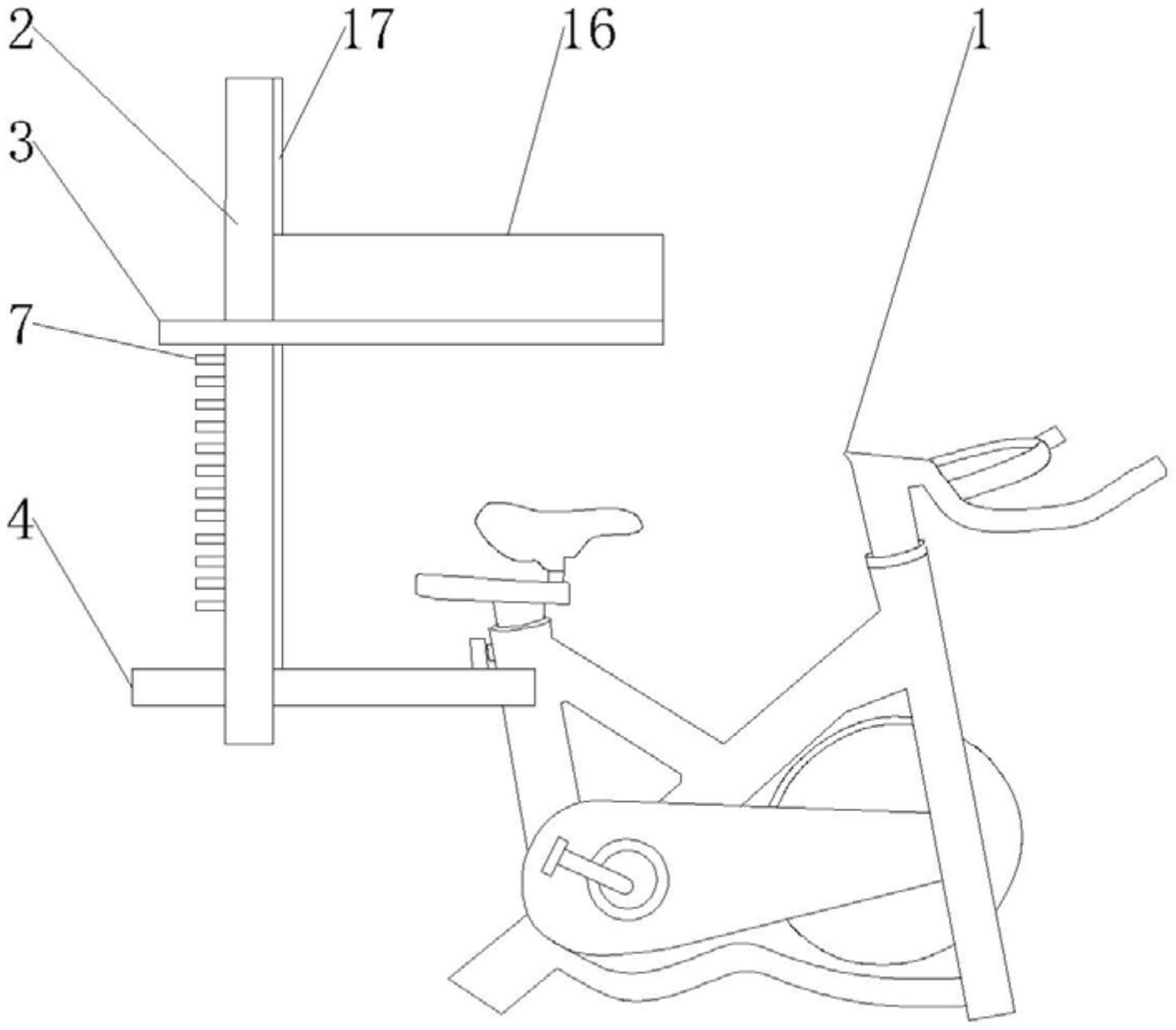
本实用新型公开了一种主动康复健身车,旨在提供一种适用性和舒适度高的康复使用主动康复健身车。它包括车架,车架上连接有辅助机构,辅助机构包括靠板和支撑板,靠板上设有连接板,连接板的一端与车架连接,连接板的另一端与靠板的下端活动连接,靠板的侧面设有滑轨,支撑板的侧面连接有连接块,连接块与滑轨滑动连接,靠板的表面设有若干滑槽一,滑槽一上滑动连接有滑杆一,支撑板上设有通孔,滑杆一与通孔插接。本实用新型的有益效果是:可灵活调节以支撑腰背和手肘,保护病患不易从车架上侧倒的同时适应病患的腰背和手肘倚靠和放置的需要,保证病患康复运动时身体保持在受保护和舒适状态,以促进身体的康复速度。


