授权公布号:CN219711985U
一种健身器材用的弹性销结构
有效
申请
2023-03-24
申请公布
1970-01-01
授权
2023-09-19
预估到期
2033-03-24
| 申请号 | CN202320601155.5 |
| 申请日 | 2023-03-24 |
| 授权公布号 | CN219711985U |
| 授权公告日 | 2023-09-19 |
| 分类号 | F16B19/02 |
| 分类 | 工程元件或部件;为产生和保持机器或设备的有效运行的一般措施;一般绝热; |
| 申请人名称 | 厦门群鑫机械工业有限公司 |
| 申请人地址 | 福建省厦门市同安区同安工业集中区集安路101号 |
专利法律状态
2023-09-19
授权
状态信息
授权
摘要
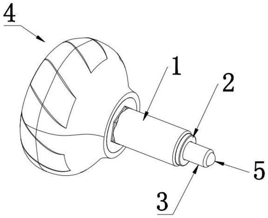
本实用新型公开了一种健身器材用的弹性销结构,应用在健身器材上,其包括螺杆、衬套、弹性插销管、手柄和滚珠,所述螺杆为左右相通的管体,所述衬套内套设在螺杆的一端,所述弹性插销管活动安装在螺杆内,所述手柄活动安装在螺杆的另一端并与弹性插销管相连用于拉动其在螺杆内活动,所述弹性插销管在端部设有一滚珠孔,所述滚珠安装在滚珠孔内。本实施例能够减少弹性插销管与带插销孔的构件的表面发生接触,防止产生摩擦,避免损伤构件表面。


