授权公布号:CN220588829U
一种新型内磁控装置及健身器材
有效
申请
2023-07-14
申请公布
1970-01-01
授权
2024-03-15
预估到期
2033-07-14
| 申请号 | CN202321850667.1 |
| 申请日 | 2023-07-14 |
| 授权公布号 | CN220588829U |
| 授权公告日 | 2024-03-15 |
| 分类号 | A63B21/00;A63B21/22;A63B22/00;A63B22/06;A63B22/04 |
| 分类 | 运动;游戏;娱乐活动; |
| 申请人名称 | 厦门群鑫机械工业有限公司 |
| 申请人地址 | 福建省厦门市同安区同安工业集中区集安路101号 |
专利法律状态
2024-03-15
授权
状态信息
授权
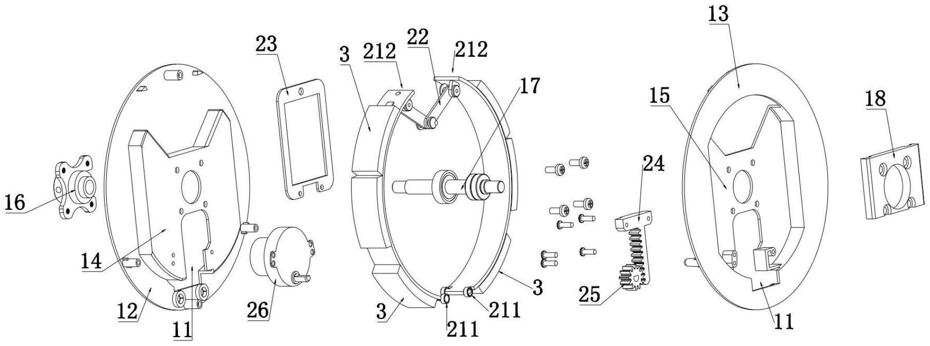
摘要
本实用新型公开了一种新型内磁控装置及健身器材,其包括外壳、摆臂控制组件及磁性元件,外壳设有一前后相通的控制口,摆臂控制组件包括至少一摆臂、连接杆、控制件、齿条、齿轮和减速电机,摆臂具有一枢转端和相对于枢转端的一受驱端,枢转端转动安装在外壳内侧边缘,连接杆的一端分别与摆臂的受驱端转动连接,另一端与控制件转动连接,齿条设置在控制件,减速电机设置在外壳,其输出部穿过控制口与齿轮安装,齿轮与齿条相啮合驱动其上下活动并带动控制件,连接杆和摆臂跟随控制件活动,磁性元件设置在摆臂的外侧。本实用新型通过减速电机替代步进电机,提高扭力的同时无需占用大量空间,通过齿条和齿轮经常传动结构还具有稳定性。


