授权公布号:CN218923704U
一种坐垫角度可调节的力量训练器
有效
申请
2022-12-01
申请公布
1970-01-01
授权
2023-04-28
预估到期
2032-12-01
| 申请号 | CN202223223619.8 |
| 申请日 | 2022-12-01 |
| 授权公布号 | CN218923704U |
| 授权公告日 | 2023-04-28 |
| 分类号 | A63B23/12;A63B23/02 |
| 分类 | 运动;游戏;娱乐活动; |
| 申请人名称 | 厦门群鑫机械工业有限公司 |
| 申请人地址 | 福建省厦门市同安区同安工业集中区集安路101号 |
专利法律状态
2023-04-28
授权
状态信息
授权
摘要
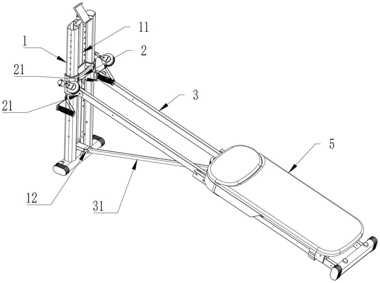
本实用新型公开了一种坐垫角度可调节的力量训练器,其包括主架体、滑动架、滑轨架、坐垫架和坐垫,坐垫架包括底架、坐垫支撑架和调节架,底架安装在滑轨架上并设有一坐垫转动座和调节座,坐垫支撑架设置在坐垫底部用于支撑坐垫,其一端转动安装在坐垫转动座,另一端与调节架转动安装,调节架底部设有一卡杆并通过卡杆与调节座的卡口相卡接调整固定其倾斜角度以支撑坐垫支撑架。本实用新型通过转动调节架并卡接在调节座的卡口上,调节架支撑坐垫支撑架和坐垫,避免因滑轨架的倾斜角度过大,导致使用者无法平稳地使用坐垫,减少坐垫的倾斜角度,满足了使用需求。


